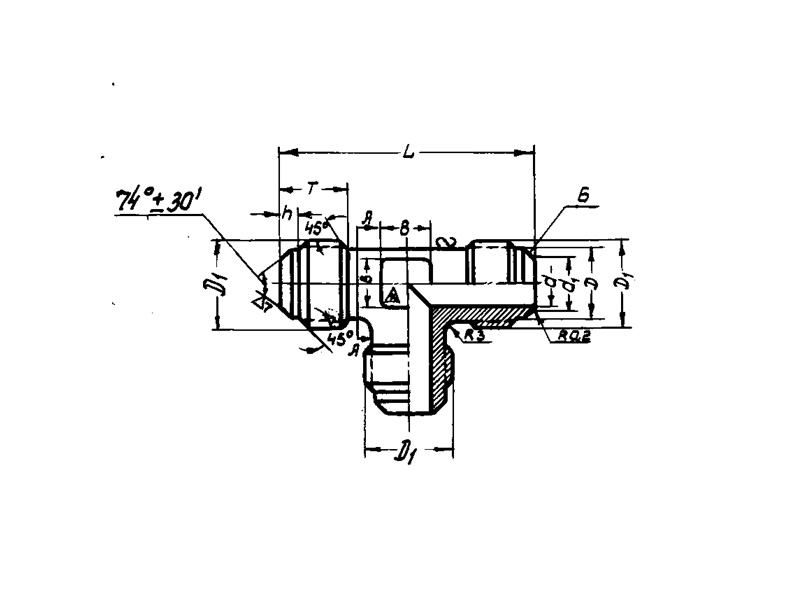
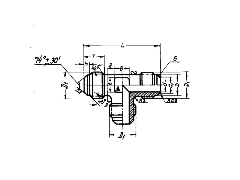
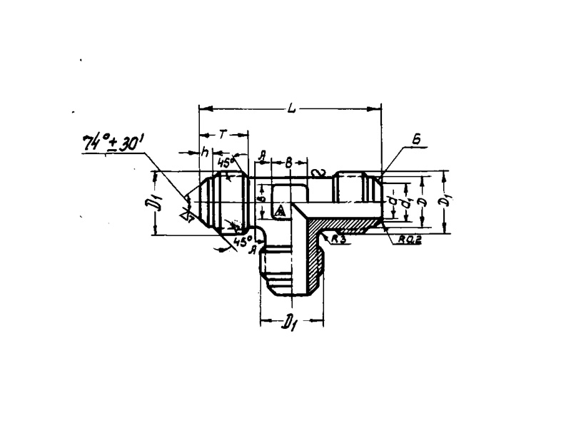
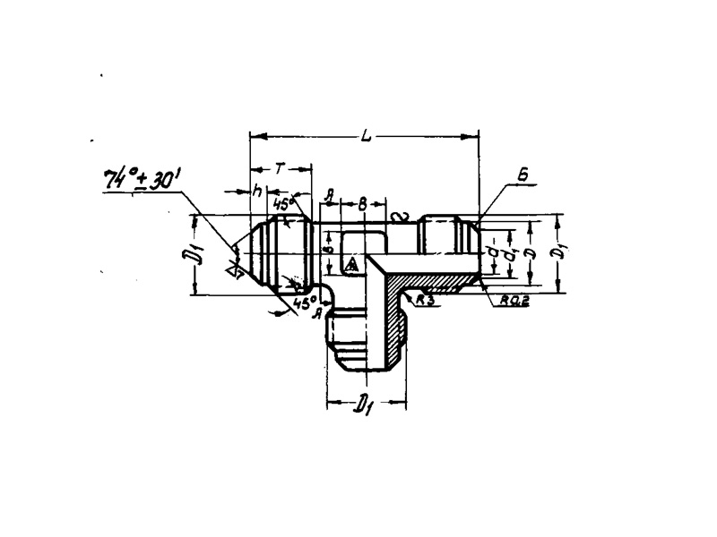
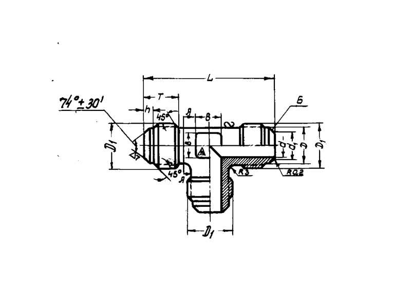
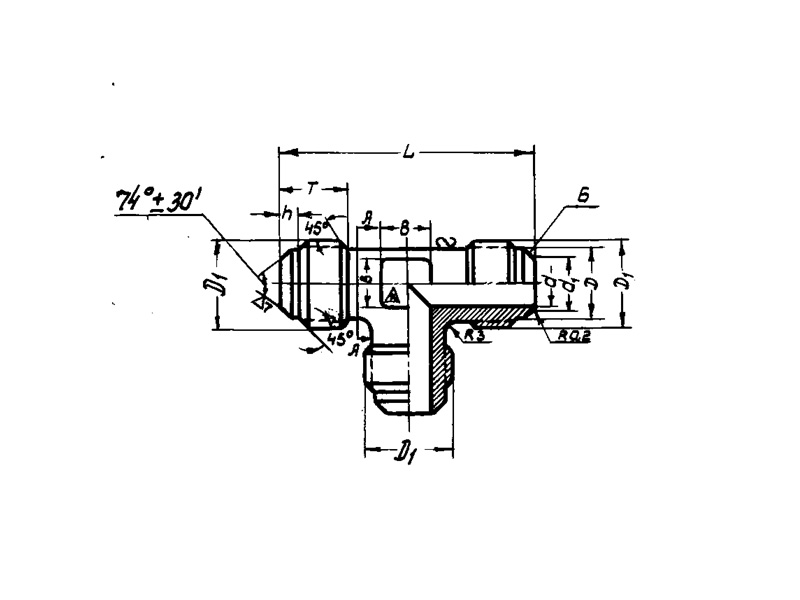
Нормаль 2751А Соединения трубопроводов по наружному конусу. Тройники проходные

НОРМАЛЬ 2751А СОЕДИНЕНИЯ ТРУБОПРОВОДОВ ПО НАРУЖНОМУ КОНУСУ. ТРОЙНИКИ ПРОХОДНЫЕ

     Тройники проходные по нормали 2751А – это специальный крепеж, предназначенный для соединения трубопроводов. Взамен нормали 1026А55.

КОНСТРУКЦИЯ И ТЕХНИЧЕСКИЕ ОСОБЕННОСТИ

     Конструкция тройника проходного состоит из трубчатого тройника с резьбами с трех сторон.

     Материал изготовления: бронза.

     Материал покрытия: Хим.Пас.

Нормаль 2751А

Пример наименования и обозначения тройника к трубопроводу dy 10 из алюминиевого сплава:

2748А-10

То же, из бронзы:

2751А-10

Тройник проходной
Наименование метиза
10
Типоразмер
Нормаль 2751А
Нормативно-технический документ

ПРИМЕНЕНИЕ

     Данные тройники используются для соединения трубопроводов.

АНАЛОГИ

Нормаль 1026А55.

ОСТ/ГОСТНормальНаименованиеТипоразмерНа складе
2748А1026А55Тройник проходной2В наличии
2748А1026А55Тройник проходной3В наличии
2748А1026А55Тройник проходной4В наличии
2748А1026А55Тройник проходной6В наличии
2748А1026А55Тройник проходной8В наличии
2748А1026А55Тройник проходной10В наличии
2748А1026А55Тройник проходной12В наличии
2748А1026А55Тройник проходной14В наличии
2748А1026А55Тройник проходной16В наличии
2748А1026А55Тройник проходной18В наличии
2748А1026А55Тройник проходной20В наличии
2748А1026А55Тройник проходной22В наличии
2748А1026А55Тройник проходной25В наличии
2748А1026А55Тройник проходной28В наличии
2748А1026А55Тройник проходной30В наличии
2748А1026А55Тройник проходной32В наличии
2748А1026А55Тройник проходной35В наличии

Для изготовителей и поставщиков: Добавить мои товары в базу

Для покупателей: Подать заявку на покупку

НаименованиеТипоразмерМатериалКоличество, штВес, кг
Тройник проходной 2748А 1026А55
О

ОСТ 1 30055-84 Накатка кольцевая стержней болт-заклепок из титанового сплава

ОСТ 1 31076-80 Маркировка крепежных изделий взамен НОРМАЛЬ 176АТ

ОСТ 1 31076-80: Маркировка крепежных изделий (взамен НОРМАЛЬ 176АТ)

ОСТ 1 38016-80 Футорки

ОСТ 1 38020-82 Втулки

ОСТ 1 39502-77 Стопорение болтов, винтов, шпилек, штифтов и гаек

ОСТ 1 39503-77 Длины болтов и винтов

ОСТ 1 39504-79 Головки шестигранные болтов и винтов

ОСТ 1 41471-79 Формообразование концов труб тяг управления из сплава Д16Т. Типовой технологический процесс

ОСТ 1 51730-79 Оснастка для формообразования концов труб тяг управления из сплава Д16Т

ОСТ 1 51731-79 Оснастка для формообразования концов труб тяг управления из сплава Д16Т

ОСТ 1.41001-79 Диаметры отверстий под нарезание резьбы метрической по нормали 754АТ

ОСТ 1.41002-79 Диаметры стержней под нарезание резьбы метрической по нормали 754АТ и ОСТ 1.00039-73

ОСТ 92-0762-72 Болты, винты из титановых сплавов

ОСТ 92-0912-69 Детали из высокопрочных углеродистых легированных и высоколегированных сталей. ОСТ 92-0912-69

ОСТ 92-1130-85 Детали стальные точные

ОСТ 92-1179-77 Детали и сборочные единицы из сталей марок 07Х16Н6 и 08Х17Н5М3

ОСТ 92-8653-75 по ОСТ 92-8674-75 Соединения трубопроводов по внутреннему конусу

ОСТ 92-8843-77 Крепежные детали повышенного качества

ОСТ-1-33102-80 Взамен нормали 102АТУ Гайки ОСТ-1-33102-80

Отраслевая нормаль 214АТ В замен нормали 214МТ55 метрическая резьбой со свободной посадкой

Отраслевая нормаль 714М55 pdf Кольца плоские ,стопорные технические условия

Отраслевая нормаль авиационной техники 101АТУ Взамен 201СТУ51

Отраслевая нормаль авиационной техники. Нормаль 722АТ.

Р

РЕЗЬБА МЕТРИЧЕСКАЯ

Резьба метрическая усиленная тугой посадкой сталь в алюминиевые и магниевые сплавы. Нормаль 254АТ взамен нормальный 154МТ46

Резьба метрическая. Основные размеры и допуски. Отраслевая нормаль 257АТ взамен 57АТ50 взамен 153МТ54.

РЕЗЬБА ТРАПЕЦЕИДАЛЬНАЯ

РЕЗЬБА ТРУБНАЯ ЦИЛИНДРИЧЕСКАЯ

РЕЗЬБА УПОРНАЯ

Резьба усиленная метрическая тугой посадкой сталь сталь система вала настоящая норма распространяется на резьбу усиленную метрическую тугой посадкой для сопрягаемых материалов сталь в сталь. Нормаль 122МТ53 взамен нормали 122МТ51

Резьба усиленная метрическая тугой посадкой сталь сталь система вала настоящая норма распространяется на резьбу усиленную метрическую тугой посадкой для сопрягаемых материалов сталь в сталь. Нормаль 122МТ53 взамен нормали 122МТ51

Резьбовые соединения. Резьба метрическая с натягом по посадкам 2Н5Д и 2Н5С Отраслевой стандарт ОСТ 1 04065–92

Оформите заказ или получите консультацию