ОСТ 1 30080-90 Винты заклепок высокого сопротивления срезу для композиционных материалов

ОСТ 1 30080-90 винты заклепок высокого сопротивления срезу для композиционных материалов

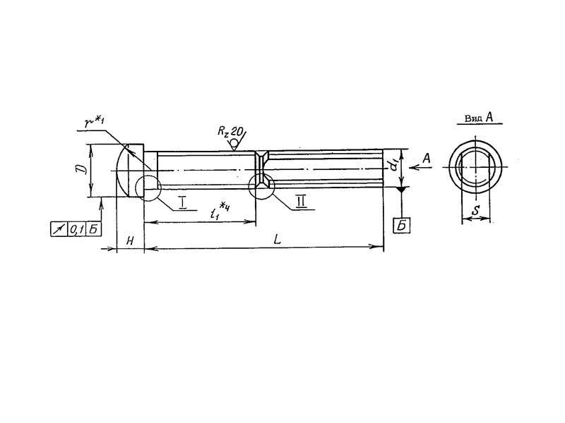
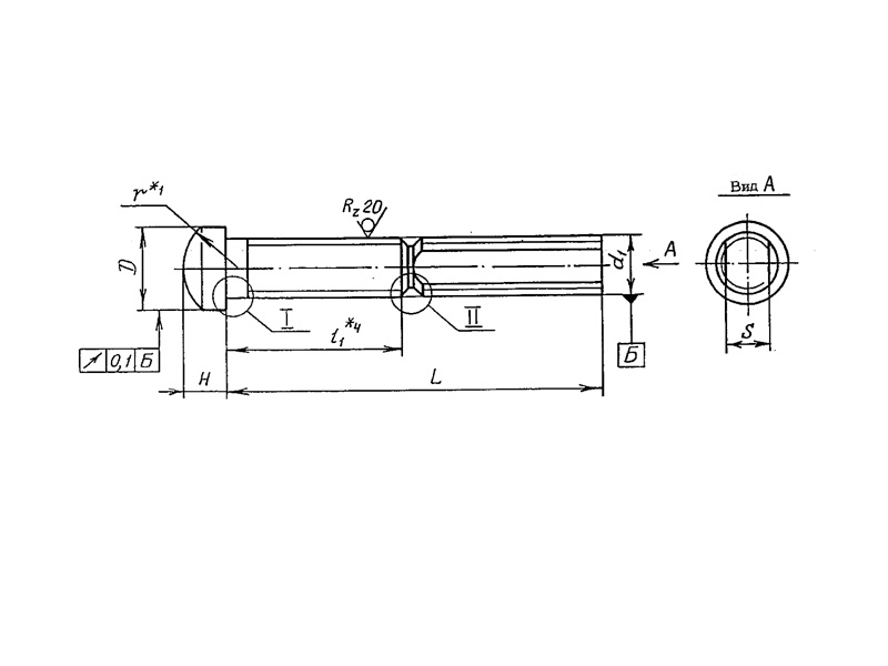
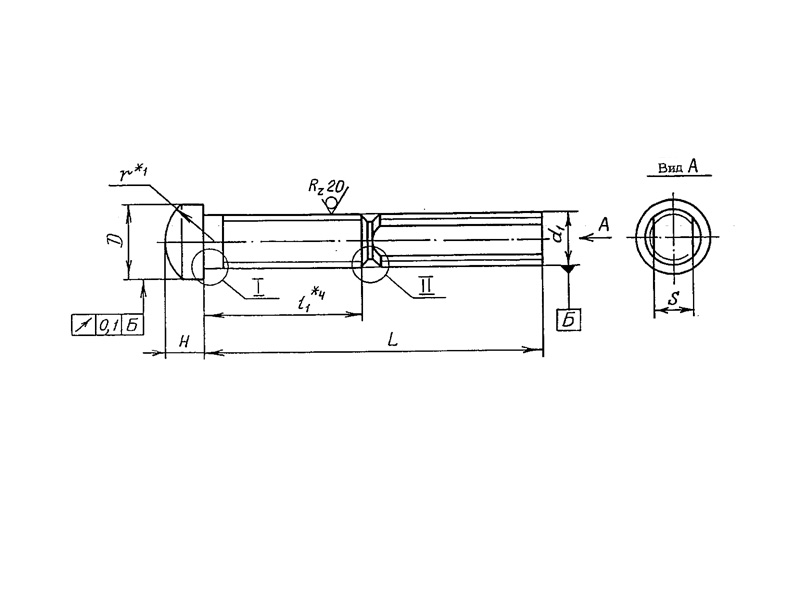
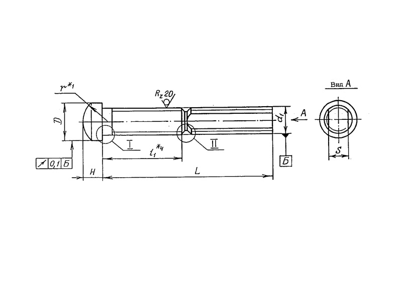
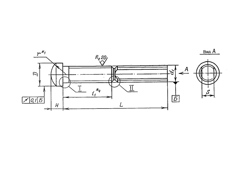
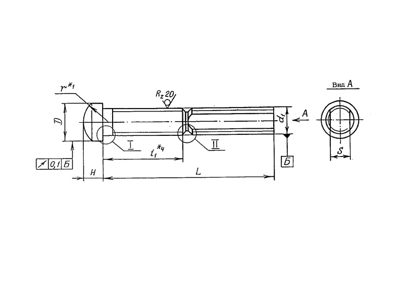
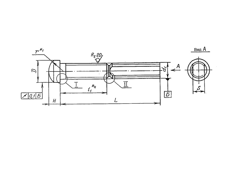
     Винты заклепок по ОСТ 1 30080-90 – это крепеж, который представляет собой полукруглую головку и металлический стержень с поперечной проточкой, ими крепят части металлических деталей между собой. Используются в составе заклепки.

КОНСТРУКЦИЯ И ТЕХНИЧЕСКИЕ ОСОБЕННОСТИ

     Конструкция винта состоит из полукруглой головки и цилиндрического стержня с поперечной проточкой.

     Материал изготовления: сталь 16ХСН-Д-П.

     Материал покрытия: Ц3.фос.окс.гфж.

ОСТ 1 30080-90.pdf

Пример наименования и обозначения винта заклепки высокого сопротивления срезу для композиционных материалов, типоразмера 24:

Винт 24-ОСТ 1 30080-90

Винт
Наименование метиза
24
Типоразмер
ОСТ 1 30080-90
Нормативно-технический документ

ПРИМЕНЕНИЕ

     Данные винты заклепок применяются во многих отраслях промышленности.

АНАЛОГИ

ОСТ/ГОСТНормальНаименованиеТипоразмерНа складе
ОСТ 1 30080-90Винт1В наличии
ОСТ 1 30080-90Винт2В наличии
ОСТ 1 30080-90Винт3В наличии
ОСТ 1 30080-90Винт4В наличии
ОСТ 1 30080-90Винт5В наличии
ОСТ 1 30080-90Винт6В наличии
ОСТ 1 30080-90Винт7В наличии
ОСТ 1 30080-90Винт8В наличии
ОСТ 1 30080-90Винт11В наличии
ОСТ 1 30080-90Винт12В наличии
ОСТ 1 30080-90Винт13В наличии
ОСТ 1 30080-90Винт14В наличии
ОСТ 1 30080-90Винт15В наличии
ОСТ 1 30080-90Винт16В наличии
ОСТ 1 30080-90Винт17В наличии
ОСТ 1 30080-90Винт18В наличии
ОСТ 1 30080-90Винт22В наличии
ОСТ 1 30080-90Винт23В наличии
ОСТ 1 30080-90Винт24В наличии
ОСТ 1 30080-90Винт25В наличии
ОСТ 1 30080-90Винт26В наличии
ОСТ 1 30080-90Винт27В наличии
ОСТ 1 30080-90Винт28В наличии
ОСТ 1 30080-90Винт29В наличии
ОСТ 1 30080-90Винт30В наличии
ОСТ 1 30080-90Винт31В наличии

Для изготовителей и поставщиков: Добавить мои товары в базу

Для покупателей: Подать заявку на покупку

НаименованиеТипоразмерМатериалКоличество, штВес, кг
Винт ОСТ 1 30080-90
О

ОСТ 1 30055-84 Накатка кольцевая стержней болт-заклепок из титанового сплава

ОСТ 1 31076-80 Маркировка крепежных изделий взамен НОРМАЛЬ 176АТ

ОСТ 1 31076-80: Маркировка крепежных изделий (взамен НОРМАЛЬ 176АТ)

ОСТ 1 38016-80 Футорки

ОСТ 1 38020-82 Втулки

ОСТ 1 39502-77 Стопорение болтов, винтов, шпилек, штифтов и гаек

ОСТ 1 39503-77 Длины болтов и винтов

ОСТ 1 39504-79 Головки шестигранные болтов и винтов

ОСТ 1 41471-79 Формообразование концов труб тяг управления из сплава Д16Т. Типовой технологический процесс

ОСТ 1 51730-79 Оснастка для формообразования концов труб тяг управления из сплава Д16Т

ОСТ 1 51731-79 Оснастка для формообразования концов труб тяг управления из сплава Д16Т

ОСТ 1.41001-79 Диаметры отверстий под нарезание резьбы метрической по нормали 754АТ

ОСТ 1.41002-79 Диаметры стержней под нарезание резьбы метрической по нормали 754АТ и ОСТ 1.00039-73

ОСТ 92-0762-72 Болты, винты из титановых сплавов

ОСТ 92-0912-69 Детали из высокопрочных углеродистых легированных и высоколегированных сталей. ОСТ 92-0912-69

ОСТ 92-1130-85 Детали стальные точные

ОСТ 92-1179-77 Детали и сборочные единицы из сталей марок 07Х16Н6 и 08Х17Н5М3

ОСТ 92-8653-75 по ОСТ 92-8674-75 Соединения трубопроводов по внутреннему конусу

ОСТ-1-33102-80 Взамен нормали 102АТУ Гайки ОСТ-1-33102-80

Отраслевая нормаль 214АТ В замен нормали 214МТ55 метрическая резьбой со свободной посадкой

Отраслевая нормаль 714М55 pdf Кольца плоские ,стопорные технические условия

Отраслевая нормаль авиационной техники 101АТУ Взамен 201СТУ51

Отраслевая нормаль авиационной техники. Нормаль 722АТ.

Р

РЕЗЬБА МЕТРИЧЕСКАЯ

Резьба метрическая усиленная тугой посадкой сталь в алюминиевые и магниевые сплавы. Нормаль 254АТ взамен нормальный 154МТ46

Резьба метрическая. Основные размеры и допуски. Отраслевая нормаль 257АТ взамен 57АТ50 взамен 153МТ54.

РЕЗЬБА ТРАПЕЦЕИДАЛЬНАЯ

РЕЗЬБА ТРУБНАЯ ЦИЛИНДРИЧЕСКАЯ

РЕЗЬБА УПОРНАЯ

Резьба усиленная метрическая тугой посадкой сталь сталь система вала настоящая норма распространяется на резьбу усиленную метрическую тугой посадкой для сопрягаемых материалов сталь в сталь. Нормаль 122МТ53 взамен нормали 122МТ51

Резьба усиленная метрическая тугой посадкой сталь сталь система вала настоящая норма распространяется на резьбу усиленную метрическую тугой посадкой для сопрягаемых материалов сталь в сталь. Нормаль 122МТ53 взамен нормали 122МТ51

Резьбовые соединения. Резьба метрическая с натягом по посадкам 2Н5Д и 2Н5С Отраслевой стандарт ОСТ 1 04065–92

Оформите заказ или получите консультацию