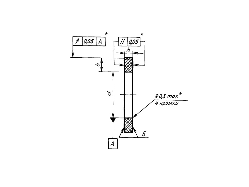
ОСТ 1 11420-74 ПРОКЛАДКИ КОЛЬЦЕВЫЕ РЕЗИНОВЫЕ ПРЯМОУГОЛЬНОГО СЕЧЕНИЯ
Прокладки кольцевые по ОСТ 1 11420-74 – это специальный крепеж, они предназначены для применения в неподвижных уплотнительных устройствах с различными рабочими средами.
КОНСТРУКЦИЯ И ТЕХНИЧЕСКИЕ ОСОБЕННОСТИ
Конструкция прокладки состоит из резинового кольца.
Материал изготовления: резина марки ИРП-1316.
Материал покрытия: без покрытия.
Пример наименования и обозначения резиновой кольцевой прокладки прямоугольного сечения размерами d=10мм, b=2мм, h=2мм из резины марки В-14:
Прокладка 10-2-2-ОСТ 1 11408-74
То же, из резины марки ИРП-1316:
Прокладка 10-2-2-ОСТ 1 11420-74
ПРИМЕНЕНИЕ
Данные прокладки используются во многих отраслях промышленности.
АНАЛОГИ
| ОСТ/ГОСТ | Нормаль | Наименование | Типоразмер | На складе |
| ОСТ 1 11420-74 | Прокладка | 2,0х2,0 | В наличии | |
| ОСТ 1 11420-75 | Прокладка | 2,5х2,0 | В наличии | |
| ОСТ 1 11420-76 | Прокладка | 3,0х2,0 | В наличии | |
| ОСТ 1 11420-77 | Прокладка | 3,5х2,0 | В наличии | |
| ОСТ 1 11420-78 | Прокладка | 4,0х2,0 | В наличии | |
| ОСТ 1 11420-79 | Прокладка | 4,5х2,0 | В наличии | |
| ОСТ 1 11420-80 | Прокладка | 5,0х2,0 | В наличии | |
| ОСТ 1 11420-81 | Прокладка | 5,5х2,0 | В наличии | |
| ОСТ 1 11420-82 | Прокладка | 6,0х2,0 | В наличии | |
| ОСТ 1 11420-83 | Прокладка | 6,5х2,0 | В наличии | |
| ОСТ 1 11420-84 | Прокладка | 7,0х2,0 | В наличии | |
| ОСТ 1 11420-85 | Прокладка | 7,5х2,0 | В наличии | |
| ОСТ 1 11420-86 | Прокладка | 8,0х2,0 | В наличии | |
| ОСТ 1 11420-87 | Прокладка | 8,5х2,0 | В наличии | |
| ОСТ 1 11420-88 | Прокладка | 9,0х2,0 | В наличии | |
| ОСТ 1 11420-89 | Прокладка | 9,5х2,0 | В наличии | |
| ОСТ 1 11420-90 | Прокладка | 10,0х2,0 | В наличии | |
| ОСТ 1 11420-91 | Прокладка | 10,5х2,0 | В наличии | |
| ОСТ 1 11420-92 | Прокладка | 11,0х2,0 | В наличии | |
| ОСТ 1 11420-93 | Прокладка | 11,5х2,0 | В наличии | |
| ОСТ 1 11420-94 | Прокладка | 12,0х2,0 | В наличии | |
| ОСТ 1 11420-95 | Прокладка | 12,5х2,0 | В наличии | |
| ОСТ 1 11420-96 | Прокладка | 13,0х2,0 | В наличии | |
| ОСТ 1 11420-97 | Прокладка | 13,5х2,0 | В наличии | |
| ОСТ 1 11420-98 | Прокладка | 14,0х2,0 | В наличии | |
| ОСТ 1 11420-99 | Прокладка | 15,0х2,0 | В наличии | |
| ОСТ 1 11420-100 | Прокладка | 16,0х2,0 | В наличии | |
| ОСТ 1 11420-101 | Прокладка | 17,0х2,0 | В наличии | |
| ОСТ 1 11420-102 | Прокладка | 18,0х2,0 | В наличии | |
| ОСТ 1 11420-103 | Прокладка | 19,0х2,0 | В наличии | |
| ОСТ 1 11420-104 | Прокладка | 20,0х2,0 | В наличии | |
| ОСТ 1 11420-105 | Прокладка | 21,0х2,0 | В наличии | |
| ОСТ 1 11420-106 | Прокладка | 22,0х2,0 | В наличии | |
| ОСТ 1 11420-107 | Прокладка | 23,0х2,0 | В наличии | |
| ОСТ 1 11420-108 | Прокладка | 24,0х2,0 | В наличии | |
| ОСТ 1 11420-109 | Прокладка | 25,0х2,0 | В наличии | |
| ОСТ 1 11420-110 | Прокладка | 26,0х2,0 | В наличии | |
| ОСТ 1 11420-111 | Прокладка | 28,0х2,0 | В наличии | |
| ОСТ 1 11420-112 | Прокладка | 30,0х2,0 | В наличии | |
| ОСТ 1 11420-113 | Прокладка | 31,0х2,0 | В наличии | |
| ОСТ 1 11420-114 | Прокладка | 32,0х2,0 | В наличии | |
| ОСТ 1 11420-115 | Прокладка | 34,0х2,0 | В наличии | |
| ОСТ 1 11420-116 | Прокладка | 36,0х2,0 | В наличии | |
| ОСТ 1 11420-117 | Прокладка | 38,0х2,0 | В наличии | |
| ОСТ 1 11420-118 | Прокладка | 48,0х2,0 | В наличии | |
| ОСТ 1 11420-119 | Прокладка | 3,0х2,5 | В наличии | |
| ОСТ 1 11420-120 | Прокладка | 3,5х2,5 | В наличии | |
| ОСТ 1 11420-121 | Прокладка | 4,0х2,5 | В наличии | |
| ОСТ 1 11420-122 | Прокладка | 4,5х2,5 | В наличии | |
| ОСТ 1 11420-123 | Прокладка | 5,0х2,5 | В наличии | |
| ОСТ 1 11420-124 | Прокладка | 5,5х2,5 | В наличии | |
| ОСТ 1 11420-125 | Прокладка | 6,0х2,5 | В наличии | |
| ОСТ 1 11420-126 | Прокладка | 6,5х2,5 | В наличии | |
| ОСТ 1 11420-127 | Прокладка | 7,0х2,5 | В наличии | |
| ОСТ 1 11420-128 | Прокладка | 7,5х2,5 | В наличии | |
| ОСТ 1 11420-129 | Прокладка | 8,0х2,5 | В наличии | |
| ОСТ 1 11420-130 | Прокладка | 8,5х2,5 | В наличии | |
| ОСТ 1 11420-131 | Прокладка | 9,0х2,5 | В наличии | |
| ОСТ 1 11420-132 | Прокладка | 9,5х2,5 | В наличии | |
| ОСТ 1 11420-133 | Прокладка | 10,0х2,5 | В наличии | |
| ОСТ 1 11420-134 | Прокладка | 10,5х2,5 | В наличии | |
| ОСТ 1 11420-135 | Прокладка | 11,0х2,5 | В наличии | |
| ОСТ 1 11420-136 | Прокладка | 11,5х2,5 | В наличии | |
| ОСТ 1 11420-137 | Прокладка | 12,0х2,5 | В наличии | |
| ОСТ 1 11420-138 | Прокладка | 12,5х2,5 | В наличии | |
| ОСТ 1 11420-139 | Прокладка | 13,0х2,5 | В наличии | |
| ОСТ 1 11420-140 | Прокладка | 13,5х2,5 | В наличии | |
| ОСТ 1 11420-141 | Прокладка | 14,0х2,5 | В наличии | |
| ОСТ 1 11420-142 | Прокладка | 15,0х2,5 | В наличии | |
| ОСТ 1 11420-143 | Прокладка | 16,0х2,5 | В наличии | |
| ОСТ 1 11420-144 | Прокладка | 17,0х2,5 | В наличии | |
| ОСТ 1 11420-145 | Прокладка | 18,0х2,5 | В наличии | |
| ОСТ 1 11420-146 | Прокладка | 19,0х2,5 | В наличии | |
| ОСТ 1 11420-147 | Прокладка | 20,0х2,5 | В наличии | |
| ОСТ 1 11420-148 | Прокладка | 21,0х2,5 | В наличии | |
| ОСТ 1 11420-149 | Прокладка | 22,0х2,5 | В наличии | |
| ОСТ 1 11420-150 | Прокладка | 23,0х2,5 | В наличии | |
| ОСТ 1 11420-151 | Прокладка | 24,0х2,5 | В наличии | |
| ОСТ 1 11420-152 | Прокладка | 25,0х2,5 | В наличии | |
| ОСТ 1 11420-153 | Прокладка | 27,0х2,5 | В наличии | |
| ОСТ 1 11420-154 | Прокладка | 29,0х2,5 | В наличии | |
| ОСТ 1 11420-155 | Прокладка | 30,0х2,5 | В наличии | |
| ОСТ 1 11420-156 | Прокладка | 31,0х2,5 | В наличии | |
| ОСТ 1 11420-157 | Прокладка | 33,0х2,5 | В наличии | |
| ОСТ 1 11420-158 | Прокладка | 35,0х2,5 | В наличии | |
| ОСТ 1 11420-159 | Прокладка | 37,0х2,5 | В наличии | |
| ОСТ 1 11420-160 | Прокладка | 40,0х2,5 | В наличии | |
| ОСТ 1 11420-161 | Прокладка | 45,0х2,5 | В наличии | |
| ОСТ 1 11420-162 | Прокладка | 50,0х2,5 | В наличии | |
| ОСТ 1 11420-163 | Прокладка | 55,0х2,5 | В наличии | |
| ОСТ 1 11420-164 | Прокладка | 60,0х2,5 | В наличии | |
| ОСТ 1 11420-165 | Прокладка | 65,0х2,5 | В наличии | |
| ОСТ 1 11420-166 | Прокладка | 70,0х2,5 | В наличии | |
| ОСТ 1 11420-167 | Прокладка | 75,0х2,5 | В наличии | |
| ОСТ 1 11420-168 | Прокладка | 80,0х2,5 | В наличии | |
| ОСТ 1 11420-169 | Прокладка | 85,0х2,5 | В наличии | |
| ОСТ 1 11420-170 | Прокладка | 90,0х2,5 | В наличии | |
| ОСТ 1 11420-171 | Прокладка | 95,0х2,5 | В наличии | |
| ОСТ 1 11420-172 | Прокладка | 100,0х2,5 | В наличии | |
| ОСТ 1 11420-173 | Прокладка | 100,0х2,5 | В наличии | |
| ОСТ 1 11420-174 | Прокладка | 110,0х2,5 | В наличии | |
| ОСТ 1 11420-175 | Прокладка | 115,0х2,5 | В наличии | |
| ОСТ 1 11420-176 | Прокладка | 120,0х2,5 | В наличии | |
| ОСТ 1 11420-177 | Прокладка | 125,0х2,5 | В наличии | |
| ОСТ 1 11420-178 | Прокладка | 130,0х2,5 | В наличии | |
| ОСТ 1 11420-179 | Прокладка | 135,0х2,5 | В наличии | |
| ОСТ 1 11420-180 | Прокладка | 140,0х2,5 | В наличии | |
| ОСТ 1 11420-181 | Прокладка | 6,0х3,0 | В наличии | |
| ОСТ 1 11420-182 | Прокладка | 6,5х3,0 | В наличии | |
| ОСТ 1 11420-183 | Прокладка | 7,0х3,0 | В наличии | |
| ОСТ 1 11420-184 | Прокладка | 7,5х3,0 | В наличии | |
| ОСТ 1 11420-185 | Прокладка | 8,0х3,0 | В наличии | |
| ОСТ 1 11420-186 | Прокладка | 8,5х3,0 | В наличии | |
| ОСТ 1 11420-187 | Прокладка | 9,0х3,0 | В наличии | |
| ОСТ 1 11420-188 | Прокладка | 9,5х3,0 | В наличии | |
| ОСТ 1 11420-189 | Прокладка | 10,0х3,0 | В наличии | |
| ОСТ 1 11420-190 | Прокладка | 10,5х3,0 | В наличии | |
| ОСТ 1 11420-191 | Прокладка | 11,0х3,0 | В наличии | |
| ОСТ 1 11420-192 | Прокладка | 11,5х3,0 | В наличии | |
| ОСТ 1 11420-193 | Прокладка | 12,0х3,0 | В наличии | |
| ОСТ 1 11420-194 | Прокладка | 12,5х3,0 | В наличии | |
| ОСТ 1 11420-195 | Прокладка | 13,0х3,0 | В наличии | |
| ОСТ 1 11420-196 | Прокладка | 13,5х3,0 | В наличии | |
| ОСТ 1 11420-197 | Прокладка | 14,0х3,0 | В наличии | |
| ОСТ 1 11420-198 | Прокладка | 15,0х3,0 | В наличии | |
| ОСТ 1 11420-199 | Прокладка | 16,0х3,0 | В наличии | |
| ОСТ 1 11420-200 | Прокладка | 17,0х3,0 | В наличии | |
| ОСТ 1 11420-201 | Прокладка | 18,0х3,0 | В наличии | |
| ОСТ 1 11420-202 | Прокладка | 19,0х3,0 | В наличии | |
| ОСТ 1 11420-203 | Прокладка | 20,0х3,0 | В наличии | |
| ОСТ 1 11420-204 | Прокладка | 21,0х3,0 | В наличии | |
| ОСТ 1 11420-205 | Прокладка | 22,0х3,0 | В наличии | |
| ОСТ 1 11420-206 | Прокладка | 23,0х3,0 | В наличии | |
| ОСТ 1 11420-207 | Прокладка | 24,0х3,0 | В наличии | |
| ОСТ 1 11420-208 | Прокладка | 26,0х3,0 | В наличии | |
| ОСТ 1 11420-209 | Прокладка | 28,0х3,0 | В наличии | |
| ОСТ 1 11420-210 | Прокладка | 29,0х3,0 | В наличии | |
| ОСТ 1 11420-211 | Прокладка | 30,0х3,0 | В наличии | |
| ОСТ 1 11420-212 | Прокладка | 32,0х3,0 | В наличии | |
| ОСТ 1 11420-213 | Прокладка | 34,0х3,0 | В наличии | |
| ОСТ 1 11420-214 | Прокладка | 36,0х3,0 | В наличии | |
| ОСТ 1 11420-215 | Прокладка | 39,0х3,0 | В наличии | |
| ОСТ 1 11420-216 | Прокладка | 42,0х3,0 | В наличии | |
| ОСТ 1 11420-217 | Прокладка | 52,0х3,0 | В наличии | |
| ОСТ 1 11420-218 | Прокладка | 62,0х3,0 | В наличии | |
| ОСТ 1 11420-219 | Прокладка | 72,0х3,0 | В наличии | |
| ОСТ 1 11420-220 | Прокладка | 13,0х3,5 | В наличии | |
| ОСТ 1 11420-221 | Прокладка | 13,5х3,5 | В наличии | |
| ОСТ 1 11420-222 | Прокладка | 14,0х3,5 | В наличии | |
| ОСТ 1 11420-223 | Прокладка | 15,0х3,5 | В наличии | |
| ОСТ 1 11420-224 | Прокладка | 16,0х3,5 | В наличии | |
| ОСТ 1 11420-225 | Прокладка | 17,0х3,5 | В наличии | |
| ОСТ 1 11420-226 | Прокладка | 18,0х3,5 | В наличии | |
| ОСТ 1 11420-227 | Прокладка | 19,0х3,5 | В наличии | |
| ОСТ 1 11420-228 | Прокладка | 20,0х3,5 | В наличии | |
| ОСТ 1 11420-229 | Прокладка | 21,0х3,5 | В наличии | |
| ОСТ 1 11420-230 | Прокладка | 22,0х3,5 | В наличии | |
| ОСТ 1 11420-231 | Прокладка | 23,0х3,5 | В наличии | |
| ОСТ 1 11420-232 | Прокладка | 25,0х3,5 | В наличии | |
| ОСТ 1 11420-233 | Прокладка | 27,0х3,5 | В наличии | |
| ОСТ 1 11420-234 | Прокладка | 28,0х3,5 | В наличии | |
| ОСТ 1 11420-235 | Прокладка | 29,0х3,5 | В наличии | |
| ОСТ 1 11420-236 | Прокладка | 31,0х3,5 | В наличии | |
| ОСТ 1 11420-237 | Прокладка | 33,0х3,5 | В наличии | |
| ОСТ 1 11420-238 | Прокладка | 35,0х3,5 | В наличии | |
| ОСТ 1 11420-239 | Прокладка | 45,0х3,5 | В наличии | |
| ОСТ 1 11420-240 | Прокладка | 48,0х3,5 | В наличии | |
| ОСТ 1 11420-241 | Прокладка | 55,0х3,5 | В наличии | |
| ОСТ 1 11420-242 | Прокладка | 58,0х3,5 | В наличии | |
| ОСТ 1 11420-243 | Прокладка | 65,0х3,5 | В наличии | |
| ОСТ 1 11420-244 | Прокладка | 68,0х3,5 | В наличии | |
| ОСТ 1 11420-245 | Прокладка | 75,0х3,5 | В наличии | |
| ОСТ 1 11420-246 | Прокладка | 78,0х3,5 | В наличии | |
| ОСТ 1 11420-247 | Прокладка | 85,0х3,5 | В наличии | |
| ОСТ 1 11420-248 | Прокладка | 95,0х3,5 | В наличии | |
| ОСТ 1 11420-249 | Прокладка | 105,0х3,5 | В наличии | |
| ОСТ 1 11420-250 | Прокладка | 115,0х3,5 | В наличии | |
| ОСТ 1 11420-251 | Прокладка | 125,0х3,5 | В наличии | |
| ОСТ 1 11420-252 | Прокладка | 135,0х3,5 | В наличии | |
| ОСТ 1 11420-253 | Прокладка | 145,0х3,5 | В наличии | |
| ОСТ 1 11420-254 | Прокладка | 30,0х4,0 | В наличии | |
| ОСТ 1 11420-255 | Прокладка | 32,0х4,0 | В наличии | |
| ОСТ 1 11420-256 | Прокладка | 34,0х4,0 | В наличии | |
| ОСТ 1 11420-257 | Прокладка | 37,0х4,0 | В наличии | |
| ОСТ 1 11420-258 | Прокладка | 40,0х4,0 | В наличии | |
| ОСТ 1 11420-259 | Прокладка | 42,0х4,0 | В наличии | |
| ОСТ 1 11420-260 | Прокладка | 50,0х3,5 | В наличии | |
| ОСТ 1 11420-261 | Прокладка | 52,0х4,0 | В наличии | |
| ОСТ 1 11420-262 | Прокладка | 60,0х4,0 | В наличии | |
| ОСТ 1 11420-263 | Прокладка | 62,0х4,0 | В наличии | |
| ОСТ 1 11420-264 | Прокладка | 70,0х4,0 | В наличии | |
| ОСТ 1 11420-265 | Прокладка | 72,0х4,0 | В наличии | |
| ОСТ 1 11420-266 | Прокладка | 80,0х4,0 | В наличии | |
| ОСТ 1 11420-267 | Прокладка | 90,0х4,0 | В наличии | |
| ОСТ 1 11420-268 | Прокладка | 100,0х4,0 | В наличии | |
| ОСТ 1 11420-269 | Прокладка | 110,0х4,0 | В наличии | |
| ОСТ 1 11420-270 | Прокладка | 120,0х4,0 | В наличии | |
| ОСТ 1 11420-271 | Прокладка | 130,0х4,0 | В наличии | |
| ОСТ 1 11420-272 | Прокладка | 140,0х4,0 | В наличии | |
| ОСТ 1 11420-273 | Прокладка | 150,0х4,0 | В наличии | |
| ОСТ 1 11420-274 | Прокладка | 32,0х5,0 | В наличии | |
| ОСТ 1 11420-275 | Прокладка | 35,0х5,0 | В наличии | |
| ОСТ 1 11420-276 | Прокладка | 38,0х5,0 | В наличии | |
| ОСТ 1 11420-277 | Прокладка | 40,0х5,0 | В наличии | |
| ОСТ 1 11420-278 | Прокладка | 42,0х5,0 | В наличии | |
| ОСТ 1 11420-279 | Прокладка | 45,0х5,0 | В наличии | |
| ОСТ 1 11420-280 | Прокладка | 48,0х5,0 | В наличии | |
| ОСТ 1 11420-281 | Прокладка | 50,0х5,0 | В наличии | |
| ОСТ 1 11420-282 | Прокладка | 52,0х5,0 | В наличии | |
| ОСТ 1 11420-283 | Прокладка | 55,0х5,0 | В наличии | |
| ОСТ 1 11420-284 | Прокладка | 58,0х5,0 | В наличии | |
| ОСТ 1 11420-285 | Прокладка | 60,0х5,0 | В наличии | |
| ОСТ 1 11420-286 | Прокладка | 62,0х5,0 | В наличии | |
| ОСТ 1 11420-287 | Прокладка | 65,0х5,0 | В наличии | |
| ОСТ 1 11420-288 | Прокладка | 68,0х5,0 | В наличии | |
| ОСТ 1 11420-289 | Прокладка | 70,0х5,0 | В наличии | |
| ОСТ 1 11420-290 | Прокладка | 72,0х5,0 | В наличии | |
| ОСТ 1 11420-291 | Прокладка | 75,0х5,0 | В наличии | |
| ОСТ 1 11420-292 | Прокладка | 78,0х5,0 | В наличии | |
| ОСТ 1 11420-293 | Прокладка | 80,0х5,0 | В наличии | |
| ОСТ 1 11420-294 | Прокладка | 85,0х5,0 | В наличии | |
| ОСТ 1 11420-295 | Прокладка | 90,0х5,0 | В наличии | |
| ОСТ 1 11420-296 | Прокладка | 95,0х5,0 | В наличии | |
| ОСТ 1 11420-297 | Прокладка | 100,0х5,0 | В наличии | |
| ОСТ 1 11420-298 | Прокладка | 105,0х5,0 | В наличии | |
| ОСТ 1 11420-299 | Прокладка | 110,0х5,0 | В наличии | |
| ОСТ 1 11420-300 | Прокладка | 115,0х5,0 | В наличии | |
| ОСТ 1 11420-301 | Прокладка | 120,0х5,0 | В наличии | |
| ОСТ 1 11420-302 | Прокладка | 125,0х5,0 | В наличии | |
| ОСТ 1 11420-303 | Прокладка | 130,0х5,0 | В наличии | |
| ОСТ 1 11420-304 | Прокладка | 135,0х5,0 | В наличии | |
| ОСТ 1 11420-305 | Прокладка | 140,0х5,0 | В наличии | |
| ОСТ 1 11420-306 | Прокладка | 145,0х5,0 | В наличии | |
| ОСТ 1 11420-307 | Прокладка | 150,0х5,0 | В наличии | |
| ОСТ 1 11420-308 | Прокладка | 40,0х6,0 | В наличии | |
| ОСТ 1 11420-309 | Прокладка | 45,0х6,0 | В наличии | |
| ОСТ 1 11420-310 | Прокладка | 48,0х6,0 | В наличии | |
| ОСТ 1 11420-311 | Прокладка | 50,0х6,0 | В наличии | |
| ОСТ 1 11420-312 | Прокладка | 52,0х6,0 | В наличии | |
| ОСТ 1 11420-313 | Прокладка | 58,0х6,0 | В наличии | |
| ОСТ 1 11420-314 | Прокладка | 60,0х6,0 | В наличии | |
| ОСТ 1 11420-315 | Прокладка | 65,0х6,0 | В наличии | |
| ОСТ 1 11420-316 | Прокладка | 68,0х6,0 | В наличии | |
| ОСТ 1 11420-317 | Прокладка | 70,0х6,0 | В наличии | |
| ОСТ 1 11420-318 | Прокладка | 78,0х6,0 | В наличии | |
| ОСТ 1 11420-319 | Прокладка | 80,0х6,0 | В наличии | |
| ОСТ 1 11420-320 | Прокладка | 85,0х6,0 | В наличии | |
| ОСТ 1 11420-321 | Прокладка | 90,0х6,0 | В наличии | |
| ОСТ 1 11420-322 | Прокладка | 100,0х6,0 | В наличии | |
| ОСТ 1 11420-323 | Прокладка | 110,0х6,0 | В наличии | |
| ОСТ 1 11420-324 | Прокладка | 120,0х6,0 | В наличии | |
| ОСТ 1 11420-325 | Прокладка | 130,0х6,0 | В наличии | |
| ОСТ 1 11420-326 | Прокладка | 140,0х6,0 | В наличии | |
| ОСТ 1 11420-327 | Прокладка | 150,0х6,0 | В наличии |
Для изготовителей и поставщиков: Добавить мои товары в базу
Для покупателей: Подать заявку на покупку
| Наименование | Типоразмер | Материал | Количество, шт | Вес, кг |
| Прокладка ОСТ 1 11420-74 |
ОСТ 1 30055-84 Накатка кольцевая стержней болт-заклепок из титанового сплава
ОСТ 1 31076-80 Маркировка крепежных изделий взамен НОРМАЛЬ 176АТ
ОСТ 1 31076-80: Маркировка крепежных изделий (взамен НОРМАЛЬ 176АТ)
ОСТ 1 39502-77 Стопорение болтов, винтов, шпилек, штифтов и гаек
ОСТ 1 39503-77 Длины болтов и винтов
ОСТ 1 39504-79 Головки шестигранные болтов и винтов
ОСТ 1 51730-79 Оснастка для формообразования концов труб тяг управления из сплава Д16Т
ОСТ 1 51731-79 Оснастка для формообразования концов труб тяг управления из сплава Д16Т
ОСТ 1.41001-79 Диаметры отверстий под нарезание резьбы метрической по нормали 754АТ
ОСТ 1.41002-79 Диаметры стержней под нарезание резьбы метрической по нормали 754АТ и ОСТ 1.00039-73
ОСТ 92-0762-72 Болты, винты из титановых сплавов
ОСТ 92-1130-85 Детали стальные точные
ОСТ 92-1179-77 Детали и сборочные единицы из сталей марок 07Х16Н6 и 08Х17Н5М3
ОСТ 92-8653-75 по ОСТ 92-8674-75 Соединения трубопроводов по внутреннему конусу
ОСТ 92-8843-77 Крепежные детали повышенного качества
ОСТ-1-33102-80 Взамен нормали 102АТУ Гайки ОСТ-1-33102-80
Отраслевая нормаль 214АТ В замен нормали 214МТ55 метрическая резьбой со свободной посадкой
Отраслевая нормаль 714М55 pdf Кольца плоские ,стопорные технические условия
Отраслевая нормаль авиационной техники 101АТУ Взамен 201СТУ51
2026 «Быстрометиз». Мы не интернет-магазин. Информация о наличии и стоимости продукции не является публичной офертой.
Задайте вопрос нашим специалистам