ОСТ 1 14368-85 Шайбы

ОСТ 1 14368-85 ШАЙБЫ 

Взамен 3445А, 3446А

Шайбы по ОСТ 14368-85 - это крепеж, который представляет собой плоское кольцо, ими крепят металлические конструкции с помощью болтов (шпилек) и гаек. Используются вместе с болтами (шпильками, приваренными стержнями с резьбой) и гайками. Для более прочного соединения могут применяться шайбы (гроверы).

КОНСТРУКЦИЯ И ТЕХНИЧЕСКИЕ ОСОБЕННОСТИ

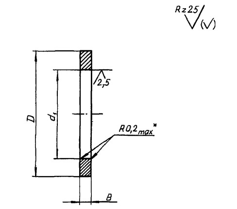
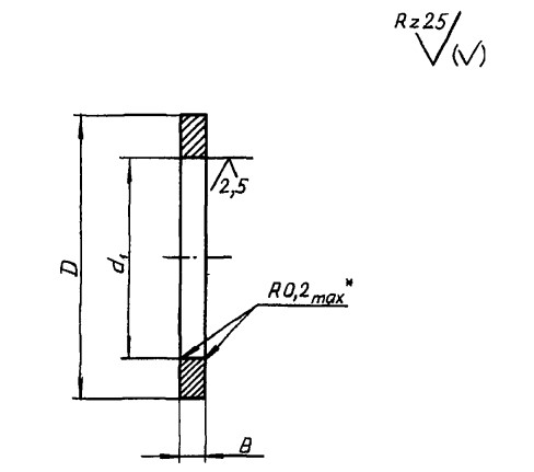
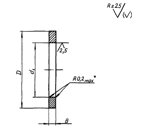
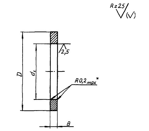
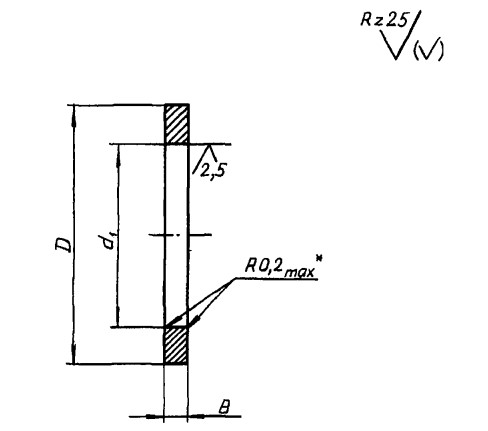
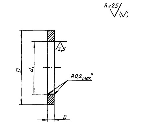
Конструкция шайбы состоит из плоского кольца.

Материал изготовления должен быть сталь 25 ГОСТ 1050-74, заменитель сталь 45 ГОСТ 1050-74.

Материал покрытия: Кд9.Хр. 

ОСТ 1 14368-85.pdf

Примеры условного обозначения шайбы исполнения 1 диаметром 6 мм, кадмированной:

Шайба 1-6-Кд-ОСТ 1 14368-85

Шайба
Наименование метиза
1
Исполнение
6
Диаметр
Кд
Покрытие
1 14368-85
Нормативно-технический документ

ПРИМЕНЕНИЕ

Настоящий стандарт распространяется на металлические шайбы, предназначенные для герметизации болтовых соединений резиновыми кольцами.

АНАЛОГИ

Взамен 3445А, 3446А

ОСТ/ГОСТНормальНаименованиеТипоразмерНа складе
ОСТ 1 14368-853445А, 3446АШайба исполнение 14В наличии
ОСТ 1 14368-853445А, 3446АШайба исполнение 15В наличии
ОСТ 1 14368-853445А, 3446АШайба исполнение 16В наличии
ОСТ 1 14368-853445А, 3446АШайба исполнение 18В наличии
ОСТ 1 14368-853445А, 3446АШайба исполнение 110В наличии
ОСТ 1 14368-853445А, 3446АШайба исполнение 112В наличии
ОСТ 1 14368-853445А, 3446АШайба исполнение 114В наличии
ОСТ 1 14368-853445А, 3446АШайба исполнение 116В наличии
ОСТ 1 14368-853445А, 3446АШайба исполнение 24В наличии
ОСТ 1 14368-853445А, 3446АШайба исполнение 25В наличии
ОСТ 1 14368-853445А, 3446АШайба исполнение 26В наличии
ОСТ 1 14368-853445А, 3446АШайба исполнение 28В наличии
ОСТ 1 14368-853445А, 3446АШайба исполнение 210В наличии
ОСТ 1 14368-853445А, 3446АШайба исполнение 212В наличии
ОСТ 1 14368-853445А, 3446АШайба исполнение 214В наличии
ОСТ 1 14368-853445А, 3446АШайба исполнение 216В наличии

Для изготовителей и поставщиков: Добавить мои товары в базу

Для покупателей: Подать заявку на покупку

НаименованиеТипоразмерМатериалКоличество, штВес, кг
Шайба исполнение 1 ОСТ 1 14368-85 3445А, 3446А
О

ОСТ 1 30055-84 Накатка кольцевая стержней болт-заклепок из титанового сплава

ОСТ 1 31076-80 Маркировка крепежных изделий взамен НОРМАЛЬ 176АТ

ОСТ 1 31076-80: Маркировка крепежных изделий (взамен НОРМАЛЬ 176АТ)

ОСТ 1 38016-80 Футорки

ОСТ 1 38020-82 Втулки

ОСТ 1 39502-77 Стопорение болтов, винтов, шпилек, штифтов и гаек

ОСТ 1 39503-77 Длины болтов и винтов

ОСТ 1 39504-79 Головки шестигранные болтов и винтов

ОСТ 1 41471-79 Формообразование концов труб тяг управления из сплава Д16Т. Типовой технологический процесс

ОСТ 1 51730-79 Оснастка для формообразования концов труб тяг управления из сплава Д16Т

ОСТ 1 51731-79 Оснастка для формообразования концов труб тяг управления из сплава Д16Т

ОСТ 1.41001-79 Диаметры отверстий под нарезание резьбы метрической по нормали 754АТ

ОСТ 1.41002-79 Диаметры стержней под нарезание резьбы метрической по нормали 754АТ и ОСТ 1.00039-73

ОСТ 92-0762-72 Болты, винты из титановых сплавов

ОСТ 92-0912-69 Детали из высокопрочных углеродистых легированных и высоколегированных сталей. ОСТ 92-0912-69

ОСТ 92-1130-85 Детали стальные точные

ОСТ 92-1179-77 Детали и сборочные единицы из сталей марок 07Х16Н6 и 08Х17Н5М3

ОСТ 92-8653-75 по ОСТ 92-8674-75 Соединения трубопроводов по внутреннему конусу

ОСТ 92-8843-77 Крепежные детали повышенного качества

ОСТ-1-33102-80 Взамен нормали 102АТУ Гайки ОСТ-1-33102-80

Отраслевая нормаль 214АТ В замен нормали 214МТ55 метрическая резьбой со свободной посадкой

Отраслевая нормаль 714М55 pdf Кольца плоские ,стопорные технические условия

Отраслевая нормаль авиационной техники 101АТУ Взамен 201СТУ51

Отраслевая нормаль авиационной техники. Нормаль 722АТ.

Р

РЕЗЬБА МЕТРИЧЕСКАЯ

Резьба метрическая усиленная тугой посадкой сталь в алюминиевые и магниевые сплавы. Нормаль 254АТ взамен нормальный 154МТ46

Резьба метрическая. Основные размеры и допуски. Отраслевая нормаль 257АТ взамен 57АТ50 взамен 153МТ54.

РЕЗЬБА ТРАПЕЦЕИДАЛЬНАЯ

РЕЗЬБА ТРУБНАЯ ЦИЛИНДРИЧЕСКАЯ

РЕЗЬБА УПОРНАЯ

Резьба усиленная метрическая тугой посадкой сталь сталь система вала настоящая норма распространяется на резьбу усиленную метрическую тугой посадкой для сопрягаемых материалов сталь в сталь. Нормаль 122МТ53 взамен нормали 122МТ51

Резьба усиленная метрическая тугой посадкой сталь сталь система вала настоящая норма распространяется на резьбу усиленную метрическую тугой посадкой для сопрягаемых материалов сталь в сталь. Нормаль 122МТ53 взамен нормали 122МТ51

Резьбовые соединения. Резьба метрическая с натягом по посадкам 2Н5Д и 2Н5С Отраслевой стандарт ОСТ 1 04065–92

Оформите заказ или получите консультацию