ОСТ 1 13869-81 Переходники прямые

ОСТ 1 13869-81 ПЕРЕХОДНИКИ ПРЯМЫЕ

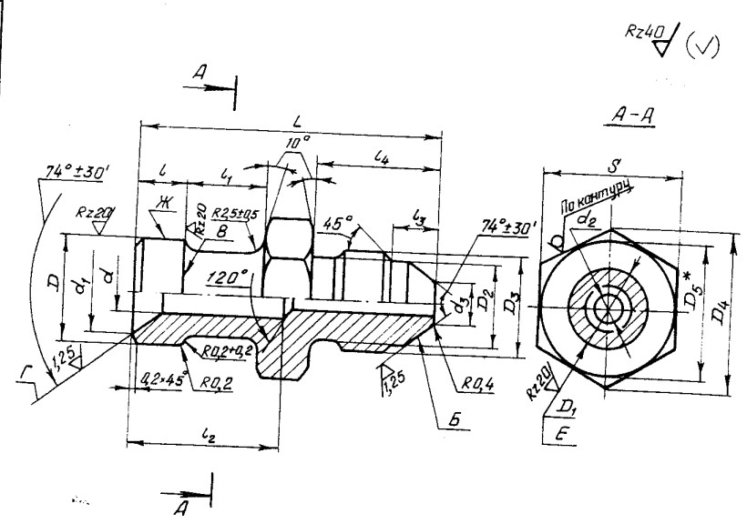
Переходники прямые по ОСТ 1 13869-81 - это специальный крепеж, предназначенный для соединения трубопроводов по наружному конусу. Взамен нормалей 5720А, 5721А, 6502А, 6503А.

КОНСТРУКЦИЯ И ТЕХНИЧЕСКИЕ ОСОБЕННОСТИ

Конструкция переходника прямого состоит из трубчатого корпуса с резьбами с обеих сторон и шестигранного бурта между резьбами.

Материал изготовления: сталь марки 30 ХГСА.

Материал покрытия: без покрытия.

ОСТ 1 13869-81.pdf

Пример наименования и обозначения прямого переходника исполнения 1 к трубопроводам наружным диаметром Dн=6 мм и Dн1=3 мм из стали 30 ХГСА:

Переходник прямой 1-6-3-ОСТ 1 13869-81

Переходник прямой
Наименование метиза
1
Типоразмер
6
Наружный диаметр
3
Наружный диаметр
ОСТ 1 13869-81
Нормативно-технический документ

ПРИМЕНЕНИЕ

     Данные переходники применяются во многих отраслях промышленности. Высокий спрос на изделие в машиностроении и в строительстве, где такие проходники используют для надежного соединения трубопроводов в различных системах.

АНАЛОГИ

Нормали 5720А, 5721А, 6502А, 6503А.

ОСТ/ГОСТНормальНаименованиеТипоразмерНа складе
ОСТ 1 13869-815720А, 5721А, 6502А, 6503АПереходник прямой1х6х3В наличии
ОСТ 1 13869-815720А, 5721А, 6502А, 6503АПереходник прямой1х6х4В наличии
ОСТ 1 13869-815720А, 5721А, 6502А, 6503АПереходник прямой1х8х4В наличии
ОСТ 1 13869-815720А, 5721А, 6502А, 6503АПереходник прямой1х8х6В наличии
ОСТ 1 13869-815720А, 5721А, 6502А, 6503АПереходник прямой1х10х6В наличии
ОСТ 1 13869-815720А, 5721А, 6502А, 6503АПереходник прямой1х10х8В наличии
ОСТ 1 13869-815720А, 5721А, 6502А, 6503АПереходник прямой1х12х6В наличии
ОСТ 1 13869-815720А, 5721А, 6502А, 6503АПереходник прямой1х12х8В наличии
ОСТ 1 13869-815720А, 5721А, 6502А, 6503АПереходник прямой1х12х10В наличии
ОСТ 1 13869-815720А, 5721А, 6502А, 6503АПереходник прямой1х14х8В наличии
ОСТ 1 13869-815720А, 5721А, 6502А, 6503АПереходник прямой1х14х10В наличии
ОСТ 1 13869-815720А, 5721А, 6502А, 6503АПереходник прямой1х14х12В наличии
ОСТ 1 13869-815720А, 5721А, 6502А, 6503АПереходник прямой1х16х10В наличии
ОСТ 1 13869-815720А, 5721А, 6502А, 6503АПереходник прямой1х16х12В наличии
ОСТ 1 13869-815720А, 5721А, 6502А, 6503АПереходник прямой1х16х14В наличии
ОСТ 1 13869-815720А, 5721А, 6502А, 6503АПереходник прямой1х18х12В наличии
ОСТ 1 13869-815720А, 5721А, 6502А, 6503АПереходник прямой1х18х14В наличии
ОСТ 1 13869-815720А, 5721А, 6502А, 6503АПереходник прямой1х18х16В наличии
ОСТ 1 13869-815720А, 5721А, 6502А, 6503АПереходник прямой1х20х14В наличии
ОСТ 1 13869-815720А, 5721А, 6502А, 6503АПереходник прямой1х20х16В наличии
ОСТ 1 13869-815720А, 5721А, 6502А, 6503АПереходник прямой1х20х18В наличии
ОСТ 1 13869-815720А, 5721А, 6502А, 6503АПереходник прямой1х22х18В наличии
ОСТ 1 13869-815720А, 5721А, 6502А, 6503АПереходник прямой1х22х20В наличии
ОСТ 1 13869-815720А, 5721А, 6502А, 6503АПереходник прямой1х25х20В наличии
ОСТ 1 13869-815720А, 5721А, 6502А, 6503АПереходник прямой1х25х22В наличии
ОСТ 1 13869-815720А, 5721А, 6502А, 6503АПереходник прямой1х28х22В наличии
ОСТ 1 13869-815720А, 5721А, 6502А, 6503АПереходник прямой1х28х25В наличии
ОСТ 1 13869-815720А, 5721А, 6502А, 6503АПереходник прямой1х30х25В наличии
ОСТ 1 13869-815720А, 5721А, 6502А, 6503АПереходник прямой1х30х28В наличии
ОСТ 1 13869-815720А, 5721А, 6502А, 6503АПереходник прямой2х6х8В наличии
ОСТ 1 13869-815720А, 5721А, 6502А, 6503АПереходник прямой2х6х10В наличии
ОСТ 1 13869-815720А, 5721А, 6502А, 6503АПереходник прямой2х6х12В наличии
ОСТ 1 13869-815720А, 5721А, 6502А, 6503АПереходник прямой2х8х10В наличии
ОСТ 1 13869-815720А, 5721А, 6502А, 6503АПереходник прямой2х8х12В наличии
ОСТ 1 13869-815720А, 5721А, 6502А, 6503АПереходник прямой2х8х14В наличии
ОСТ 1 13869-815720А, 5721А, 6502А, 6503АПереходник прямой2х10х12В наличии
ОСТ 1 13869-815720А, 5721А, 6502А, 6503АПереходник прямой2х10х14В наличии
ОСТ 1 13869-815720А, 5721А, 6502А, 6503АПереходник прямой2х10х16В наличии
ОСТ 1 13869-815720А, 5721А, 6502А, 6503АПереходник прямой2х12х14В наличии
ОСТ 1 13869-815720А, 5721А, 6502А, 6503АПереходник прямой2х12х16В наличии
ОСТ 1 13869-815720А, 5721А, 6502А, 6503АПереходник прямой2х12х18В наличии
ОСТ 1 13869-815720А, 5721А, 6502А, 6503АПереходник прямой2х14х16В наличии
ОСТ 1 13869-815720А, 5721А, 6502А, 6503АПереходник прямой2х14х18В наличии
ОСТ 1 13869-815720А, 5721А, 6502А, 6503АПереходник прямой2х14х20В наличии
ОСТ 1 13869-815720А, 5721А, 6502А, 6503АПереходник прямой2х16х18В наличии
ОСТ 1 13869-815720А, 5721А, 6502А, 6503АПереходник прямой2х16х20В наличии
ОСТ 1 13869-815720А, 5721А, 6502А, 6503АПереходник прямой2х18х20В наличии
ОСТ 1 13869-815720А, 5721А, 6502А, 6503АПереходник прямой2х18х22В наличии
ОСТ 1 13869-815720А, 5721А, 6502А, 6503АПереходник прямой2х20х22В наличии
ОСТ 1 13869-815720А, 5721А, 6502А, 6503АПереходник прямой2х20х25В наличии
ОСТ 1 13869-815720А, 5721А, 6502А, 6503АПереходник прямой2х22х25В наличии
ОСТ 1 13869-815720А, 5721А, 6502А, 6503АПереходник прямой2х22х28В наличии
ОСТ 1 13869-815720А, 5721А, 6502А, 6503АПереходник прямой2х25х28В наличии
ОСТ 1 13869-815720А, 5721А, 6502А, 6503АПереходник прямой2х25х30В наличии
ОСТ 1 13869-815720А, 5721А, 6502А, 6503АПереходник прямой2х28х30В наличии
ОСТ 1 13869-815720А, 5721А, 6502А, 6503АПереходник прямой2х28х34В наличии

Для изготовителей и поставщиков: Добавить мои товары в базу

Для покупателей: Подать заявку на покупку

НаименованиеТипоразмерМатериалКоличество, штВес, кг
Переходник прямой ОСТ 1 13869-81 5720А, 5721А, 6502А, 6503А
О

ОСТ 1 30055-84 Накатка кольцевая стержней болт-заклепок из титанового сплава

ОСТ 1 31076-80 Маркировка крепежных изделий взамен НОРМАЛЬ 176АТ

ОСТ 1 31076-80: Маркировка крепежных изделий (взамен НОРМАЛЬ 176АТ)

ОСТ 1 38016-80 Футорки

ОСТ 1 38020-82 Втулки

ОСТ 1 39502-77 Стопорение болтов, винтов, шпилек, штифтов и гаек

ОСТ 1 39503-77 Длины болтов и винтов

ОСТ 1 39504-79 Головки шестигранные болтов и винтов

ОСТ 1 41471-79 Формообразование концов труб тяг управления из сплава Д16Т. Типовой технологический процесс

ОСТ 1 51730-79 Оснастка для формообразования концов труб тяг управления из сплава Д16Т

ОСТ 1 51731-79 Оснастка для формообразования концов труб тяг управления из сплава Д16Т

ОСТ 1.41001-79 Диаметры отверстий под нарезание резьбы метрической по нормали 754АТ

ОСТ 1.41002-79 Диаметры стержней под нарезание резьбы метрической по нормали 754АТ и ОСТ 1.00039-73

ОСТ 92-0762-72 Болты, винты из титановых сплавов

ОСТ 92-0912-69 Детали из высокопрочных углеродистых легированных и высоколегированных сталей. ОСТ 92-0912-69

ОСТ 92-1130-85 Детали стальные точные

ОСТ 92-1179-77 Детали и сборочные единицы из сталей марок 07Х16Н6 и 08Х17Н5М3

ОСТ 92-8653-75 по ОСТ 92-8674-75 Соединения трубопроводов по внутреннему конусу

ОСТ 92-8843-77 Крепежные детали повышенного качества

ОСТ-1-33102-80 Взамен нормали 102АТУ Гайки ОСТ-1-33102-80

Отраслевая нормаль 214АТ В замен нормали 214МТ55 метрическая резьбой со свободной посадкой

Отраслевая нормаль 714М55 pdf Кольца плоские ,стопорные технические условия

Отраслевая нормаль авиационной техники 101АТУ Взамен 201СТУ51

Отраслевая нормаль авиационной техники. Нормаль 722АТ.

Р

РЕЗЬБА МЕТРИЧЕСКАЯ

Резьба метрическая усиленная тугой посадкой сталь в алюминиевые и магниевые сплавы. Нормаль 254АТ взамен нормальный 154МТ46

Резьба метрическая. Основные размеры и допуски. Отраслевая нормаль 257АТ взамен 57АТ50 взамен 153МТ54.

РЕЗЬБА ТРАПЕЦЕИДАЛЬНАЯ

РЕЗЬБА ТРУБНАЯ ЦИЛИНДРИЧЕСКАЯ

РЕЗЬБА УПОРНАЯ

Резьба усиленная метрическая тугой посадкой сталь сталь система вала настоящая норма распространяется на резьбу усиленную метрическую тугой посадкой для сопрягаемых материалов сталь в сталь. Нормаль 122МТ53 взамен нормали 122МТ51

Резьба усиленная метрическая тугой посадкой сталь сталь система вала настоящая норма распространяется на резьбу усиленную метрическую тугой посадкой для сопрягаемых материалов сталь в сталь. Нормаль 122МТ53 взамен нормали 122МТ51

Резьбовые соединения. Резьба метрическая с натягом по посадкам 2Н5Д и 2Н5С Отраслевой стандарт ОСТ 1 04065–92

Оформите заказ или получите консультацию