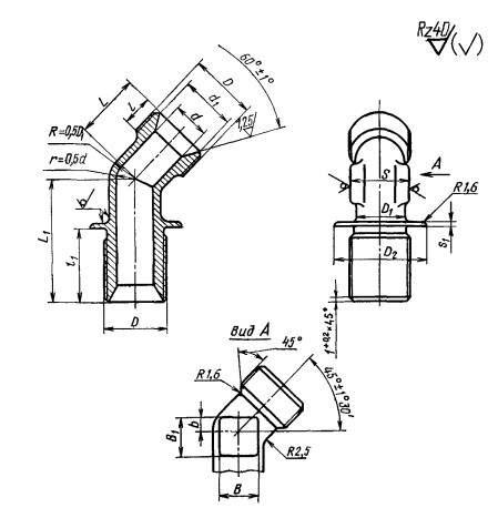
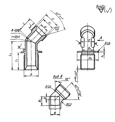
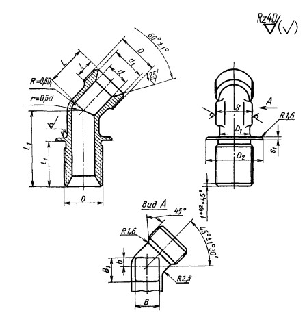
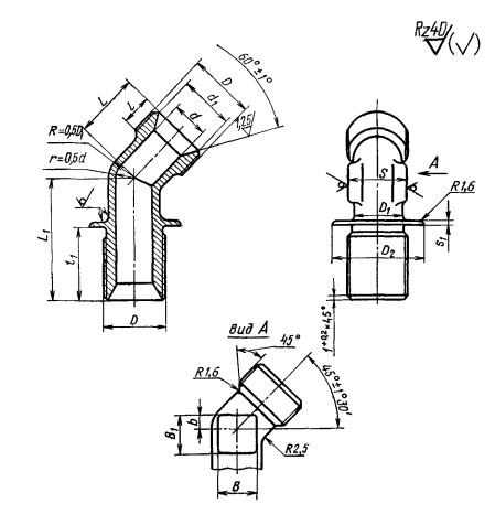
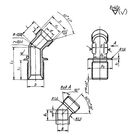
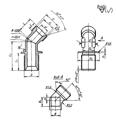
ГОСТ 16055-70 Угольники фланцевые с углом наклона 135 гр. для соединений трубопроводов по внутреннему конусу

ГОСТ 16055-70 УГОЛЬНИКИ ФЛАНЦЕВЫЕ с углом наклона 135гр. ДЛЯ СОЕДИНЕНИЙ ТРУБОПРОВОДОВ ПО внутреннеМУ КОНУСУ

     Угольники фланцевые по ГОСТ 16055-74 – это специальный крепеж, предназначенный для соединений трубопроводов.

КОНСТРУКЦИЯ И ТЕХНИЧЕСКИЕ ОСОБЕННОСТИ

     Конструкция угольника проходного состоит из углового трубчатого уголка с резьбами с обеих сторон.

     Материал изготовления: стали различных марок.

     Материал покрытия: без покрытия.

ГОСТ 16055-70.pdf

Пример условного обозначения фланцевого угольника к трубопроводу Dн=16 мм из стали марки 45:

Угольник фланцевый 16-022 ГОСТ 16055-70

То же, из стали марки 38ХА:

Угольник фланцевый 16-021 ГОСТ 16055-70

То же, из стали марки 12Х18Н9Т:

Угольник фланцевый 16-012 ГОСТ 16055-70

То же, из стали марки 13Х11Н2В2МФ:

Угольник фланцевый 16-011 ГОСТ 16055-70

То же, для изделий авиационной и общей техники:

Угольник фланцевый 16-022 ГОСТ 16055-70

Угольник фланцевый 16-021 ГОСТ 16055-70

Угольник фланцевый 16-011 ГОСТ 16055-70

Угольник фланцевый 16-012 ГОСТ 16055-70

Угольник фланцевый
16
Диаметр трубопровода
012А
Марка стали
ГОСТ 16055-70
Нормативно-технический документ

ПРИМЕНЕНИЕ

     Данные угольники проходные применяются во многих отраслях промышленности. Высокий спрос на изделие в машиностроении и в строительстве, где такие угольники проходные используют для надежного крепления трубопроводов в различных системах.

АНАЛОГИ

ОСТ/ГОСТНормальНаименованиеТипоразмерНа складе
ГОСТ 16055-70Угольник фланцевый6В наличии
ГОСТ 16055-70Угольник фланцевый8В наличии
ГОСТ 16055-70Угольник фланцевый10В наличии
ГОСТ 16055-70Угольник фланцевый12В наличии
ГОСТ 16055-70Угольник фланцевый14В наличии
ГОСТ 16055-70Угольник фланцевый16В наличии
ГОСТ 16055-70Угольник фланцевый18В наличии
ГОСТ 16055-70Угольник фланцевый20В наличии
ГОСТ 16055-70Угольник фланцевый22В наличии
ГОСТ 16055-70Угольник фланцевый24В наличии
ГОСТ 16055-70Угольник фланцевый26В наличии
ГОСТ 16055-70Угольник фланцевый28В наличии
ГОСТ 16055-70Угольник фланцевый30В наличии
ГОСТ 16055-70Угольник фланцевый32В наличии
ГОСТ 16055-70Угольник фланцевый34В наличии
ГОСТ 16055-70Угольник фланцевый36В наличии
ГОСТ 16055-70Угольник фланцевый38В наличии

Для изготовителей и поставщиков: Добавить мои товары в базу

Для покупателей: Подать заявку на покупку

НаименованиеТипоразмерМатериалКоличество, штВес, кг
Угольник фланцевый ГОСТ 16055-70
О

ОСТ 1 30055-84 Накатка кольцевая стержней болт-заклепок из титанового сплава

ОСТ 1 31076-80 Маркировка крепежных изделий взамен НОРМАЛЬ 176АТ

ОСТ 1 31076-80: Маркировка крепежных изделий (взамен НОРМАЛЬ 176АТ)

ОСТ 1 38016-80 Футорки

ОСТ 1 38020-82 Втулки

ОСТ 1 39502-77 Стопорение болтов, винтов, шпилек, штифтов и гаек

ОСТ 1 39503-77 Длины болтов и винтов

ОСТ 1 39504-79 Головки шестигранные болтов и винтов

ОСТ 1 41471-79 Формообразование концов труб тяг управления из сплава Д16Т. Типовой технологический процесс

ОСТ 1 51730-79 Оснастка для формообразования концов труб тяг управления из сплава Д16Т

ОСТ 1 51731-79 Оснастка для формообразования концов труб тяг управления из сплава Д16Т

ОСТ 1.41001-79 Диаметры отверстий под нарезание резьбы метрической по нормали 754АТ

ОСТ 1.41002-79 Диаметры стержней под нарезание резьбы метрической по нормали 754АТ и ОСТ 1.00039-73

ОСТ 92-0762-72 Болты, винты из титановых сплавов

ОСТ 92-0912-69 Детали из высокопрочных углеродистых легированных и высоколегированных сталей. ОСТ 92-0912-69

ОСТ 92-1130-85 Детали стальные точные

ОСТ 92-1179-77 Детали и сборочные единицы из сталей марок 07Х16Н6 и 08Х17Н5М3

ОСТ 92-8653-75 по ОСТ 92-8674-75 Соединения трубопроводов по внутреннему конусу

ОСТ-1-33102-80 Взамен нормали 102АТУ Гайки ОСТ-1-33102-80

Отраслевая нормаль 214АТ В замен нормали 214МТ55 метрическая резьбой со свободной посадкой

Отраслевая нормаль 714М55 pdf Кольца плоские ,стопорные технические условия

Отраслевая нормаль авиационной техники 101АТУ Взамен 201СТУ51

Отраслевая нормаль авиационной техники. Нормаль 722АТ.

Р

РЕЗЬБА МЕТРИЧЕСКАЯ

Резьба метрическая усиленная тугой посадкой сталь в алюминиевые и магниевые сплавы. Нормаль 254АТ взамен нормальный 154МТ46

Резьба метрическая. Основные размеры и допуски. Отраслевая нормаль 257АТ взамен 57АТ50 взамен 153МТ54.

РЕЗЬБА ТРАПЕЦЕИДАЛЬНАЯ

РЕЗЬБА ТРУБНАЯ ЦИЛИНДРИЧЕСКАЯ

РЕЗЬБА УПОРНАЯ

Резьба усиленная метрическая тугой посадкой сталь сталь система вала настоящая норма распространяется на резьбу усиленную метрическую тугой посадкой для сопрягаемых материалов сталь в сталь. Нормаль 122МТ53 взамен нормали 122МТ51

Резьба усиленная метрическая тугой посадкой сталь сталь система вала настоящая норма распространяется на резьбу усиленную метрическую тугой посадкой для сопрягаемых материалов сталь в сталь. Нормаль 122МТ53 взамен нормали 122МТ51

Резьбовые соединения. Резьба метрическая с натягом по посадкам 2Н5Д и 2Н5С Отраслевой стандарт ОСТ 1 04065–92

Оформите заказ или получите консультацию