ОСТ 1 12936-77 Проходники

ОСТ 1 12936-77 Проходники 

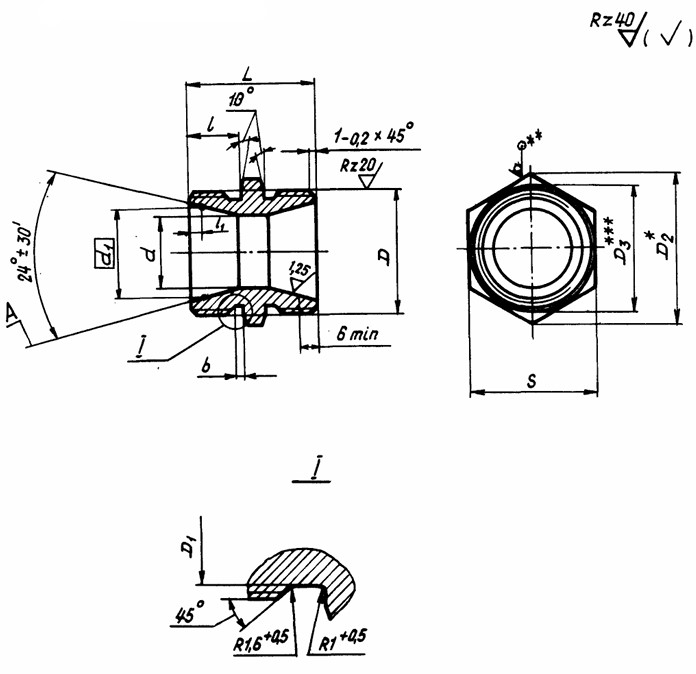
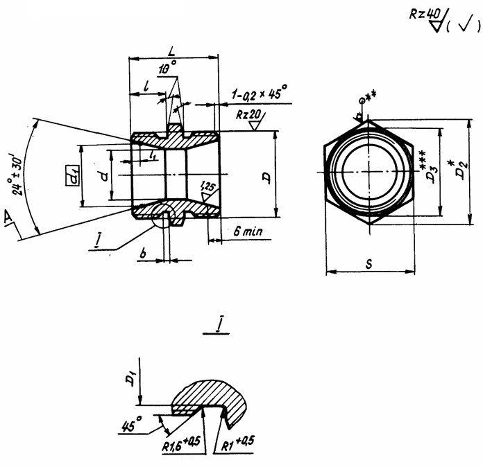
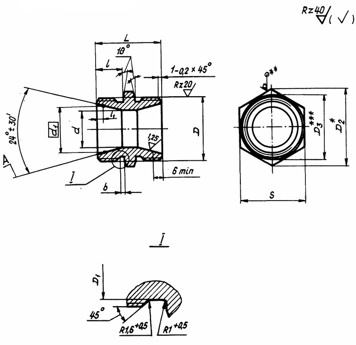
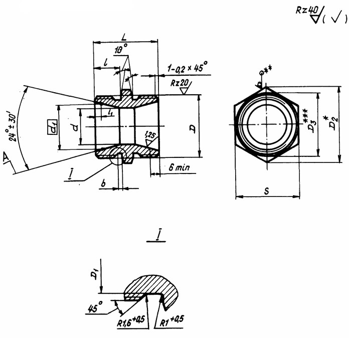
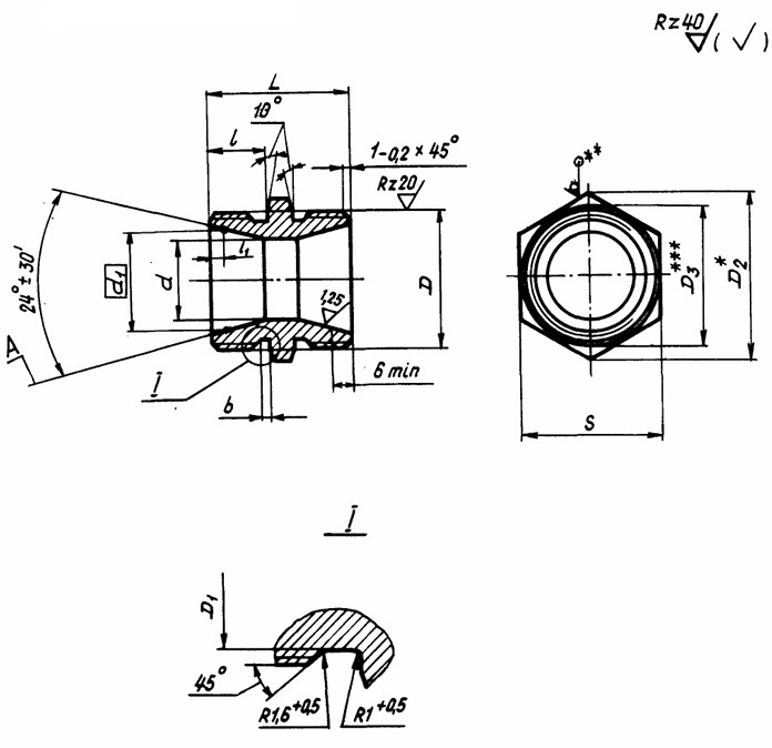
Настоящий стандарт распространяется на проходники, предназначенные для соединений трубопроводов с углом конуса 24 гр.

КОНСТРУКЦИЯ И ТЕХНИЧЕСКИЕ ОСОБЕННОСТИ

Конструкция проходника состоит из корпуса и шестигранников с обеих сторон.

Материал изготовления: сталь 15Х16Н2АМ-Ш.

ОСТ 1 12936-77.pdf

Пример наименования и обозначения проходника к трубопроводу Dн=12 мм из стали марки 15Х16Н2АМ-Ш:

Проходник 12 - ОСТ 1 12936-77

Проходник
Наименование метиза
12
Диаметр
ОСТ 12936-77
Нормативно-технический документ

В обозначении проходника к трубопроводу Dн =6мм с резьбой MR12x1,5 дополнительно вводится шаг резьбы:

Проходник 6-1,5-ОСТ 12936-77

Проходник
Наименование метиза
6
Диаметр
1,5
Шаг резьбы
ОСТ 12936-77
Нормативно-технический документ

ПРИМЕНЕНИЕ

Данные проходники применяются во многих отраслях промышленности. Высокий спрос на изделие в машиностроении и в строительстве, где такие проходники фланцевые используют для надежного крепления трубопроводов в различных системах.

АНАЛОГИ

ОСТ/ГОСТНормальНаименованиеТипоразмерНа складе
ОСТ 1 12936-77Проходник6В наличии
ОСТ 1 12936-77Проходник8В наличии
ОСТ 1 12936-77Проходник10В наличии
ОСТ 1 12936-77Проходник12В наличии
ОСТ 1 12936-77Проходник14В наличии
ОСТ 1 12936-77Проходник16В наличии
ОСТ 1 12936-77Проходник18В наличии
ОСТ 1 12936-77Проходник20В наличии
ОСТ 1 12936-77Проходник22В наличии
ОСТ 1 12936-77Проходник25В наличии
ОСТ 1 12936-77Проходник28В наличии
ОСТ 1 12936-77Проходник30В наличии
ОСТ 1 12936-77Проходник32В наличии
ОСТ 1 12936-77Проходник34В наличии
ОСТ 1 12936-77Проходник36В наличии
ОСТ 1 12936-77Проходник38В наличии
ОСТ 1 12936-77Проходник42В наличии

Для изготовителей и поставщиков: Добавить мои товары в базу

Для покупателей: Подать заявку на покупку

НаименованиеТипоразмерМатериалКоличество, штВес, кг
Проходник ОСТ 1 12936-77
О

ОСТ 1 30055-84 Накатка кольцевая стержней болт-заклепок из титанового сплава

ОСТ 1 31076-80 Маркировка крепежных изделий взамен НОРМАЛЬ 176АТ

ОСТ 1 31076-80: Маркировка крепежных изделий (взамен НОРМАЛЬ 176АТ)

ОСТ 1 38016-80 Футорки

ОСТ 1 38020-82 Втулки

ОСТ 1 39502-77 Стопорение болтов, винтов, шпилек, штифтов и гаек

ОСТ 1 39503-77 Длины болтов и винтов

ОСТ 1 39504-79 Головки шестигранные болтов и винтов

ОСТ 1 41471-79 Формообразование концов труб тяг управления из сплава Д16Т. Типовой технологический процесс

ОСТ 1 51730-79 Оснастка для формообразования концов труб тяг управления из сплава Д16Т

ОСТ 1 51731-79 Оснастка для формообразования концов труб тяг управления из сплава Д16Т

ОСТ 1.41001-79 Диаметры отверстий под нарезание резьбы метрической по нормали 754АТ

ОСТ 1.41002-79 Диаметры стержней под нарезание резьбы метрической по нормали 754АТ и ОСТ 1.00039-73

ОСТ 92-0762-72 Болты, винты из титановых сплавов

ОСТ 92-0912-69 Детали из высокопрочных углеродистых легированных и высоколегированных сталей. ОСТ 92-0912-69

ОСТ 92-1130-85 Детали стальные точные

ОСТ 92-1179-77 Детали и сборочные единицы из сталей марок 07Х16Н6 и 08Х17Н5М3

ОСТ 92-8653-75 по ОСТ 92-8674-75 Соединения трубопроводов по внутреннему конусу

ОСТ 92-8843-77 Крепежные детали повышенного качества

ОСТ-1-33102-80 Взамен нормали 102АТУ Гайки ОСТ-1-33102-80

Отраслевая нормаль 214АТ В замен нормали 214МТ55 метрическая резьбой со свободной посадкой

Отраслевая нормаль 714М55 pdf Кольца плоские ,стопорные технические условия

Отраслевая нормаль авиационной техники 101АТУ Взамен 201СТУ51

Отраслевая нормаль авиационной техники. Нормаль 722АТ.

Р

РЕЗЬБА МЕТРИЧЕСКАЯ

Резьба метрическая усиленная тугой посадкой сталь в алюминиевые и магниевые сплавы. Нормаль 254АТ взамен нормальный 154МТ46

Резьба метрическая. Основные размеры и допуски. Отраслевая нормаль 257АТ взамен 57АТ50 взамен 153МТ54.

РЕЗЬБА ТРАПЕЦЕИДАЛЬНАЯ

РЕЗЬБА ТРУБНАЯ ЦИЛИНДРИЧЕСКАЯ

РЕЗЬБА УПОРНАЯ

Резьба усиленная метрическая тугой посадкой сталь сталь система вала настоящая норма распространяется на резьбу усиленную метрическую тугой посадкой для сопрягаемых материалов сталь в сталь. Нормаль 122МТ53 взамен нормали 122МТ51

Резьба усиленная метрическая тугой посадкой сталь сталь система вала настоящая норма распространяется на резьбу усиленную метрическую тугой посадкой для сопрягаемых материалов сталь в сталь. Нормаль 122МТ53 взамен нормали 122МТ51

Резьбовые соединения. Резьба метрическая с натягом по посадкам 2Н5Д и 2Н5С Отраслевой стандарт ОСТ 1 04065–92

Оформите заказ или получите консультацию