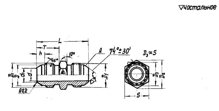
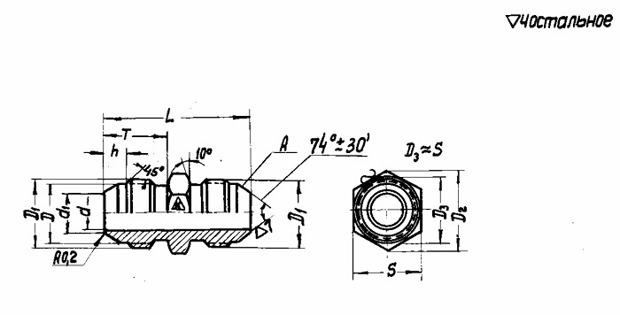
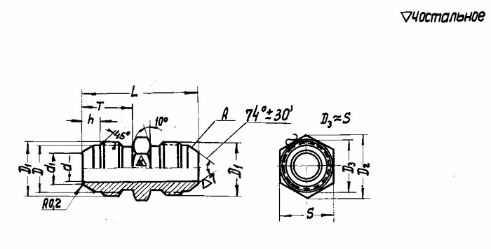
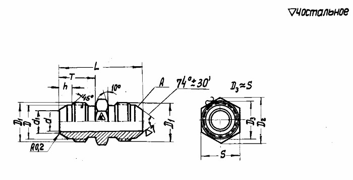
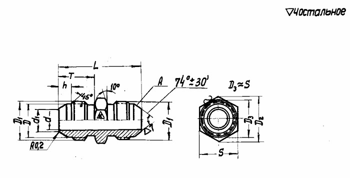
Нормаль 2713А Соединения трубопроводов по наружному конусу. Проходники прямые типа А.

НОРМАЛЬ 2713А СОЕДИНЕНИЯ ТРУБОПРОВОДОВ ПО НАРУЖНОМУ КОНУСУ. ПРОХОДНИКИ прямые ТИПА А.

Проходники по нормали 2713А – это особый крепеж, применяющийся в качестве соединительной детали арматуры трубопроводов. Взамен 1004А55.

КОНСТРУКЦИЯ И ТЕХНИЧЕСКИЕ ОСОБЕННОСТИ

Конструкция проходника прямого состоит из трубчатого корпуса с резьбами с двух сторон.

Материал изготовления: сталь марки 45.

Материал покрытия: кадмирование.

Нормаль 2713A.pdf

Пример обозначения проходника к трубопроводу dу 10 из стали марки 45:

2713А-10

Проходник
Наименование метиза
10
Диаметр
2713А
Нормативно-технический документ

ПРИМЕНЕНИЕ

     Настоящий стандарт распространяется на проходники прямые, предназначенные для соединений трубопроводов по наружному конусу.

АНАЛОГИ

Взамен 1004А55

ОСТ/ГОСТНормальНаименованиеТипоразмерНа складе
Нормаль 2713АПроходник2В наличии
Нормаль 2713АПроходник3В наличии
Нормаль 2713АПроходник4В наличии
Нормаль 2713АПроходник6В наличии
Нормаль 2713АПроходник8В наличии
Нормаль 2713АПроходник10В наличии
Нормаль 2713АПроходник12В наличии
Нормаль 2713АПроходник14В наличии
Нормаль 2713АПроходник16В наличии
Нормаль 2713АПроходник18В наличии
Нормаль 2713АПроходник20В наличии
Нормаль 2713АПроходник22В наличии
Нормаль 2713АПроходник25В наличии
Нормаль 2713АПроходник28В наличии
Нормаль 2713АПроходник30В наличии
Нормаль 2713АПроходник32В наличии
Нормаль 2713АПроходник35В наличии

Для изготовителей и поставщиков: Добавить мои товары в базу

Для покупателей: Подать заявку на покупку

НаименованиеТипоразмерМатериалКоличество, штВес, кг
Проходник Нормаль 2713А
О

ОСТ 1 30055-84 Накатка кольцевая стержней болт-заклепок из титанового сплава

ОСТ 1 31076-80 Маркировка крепежных изделий взамен НОРМАЛЬ 176АТ

ОСТ 1 31076-80: Маркировка крепежных изделий (взамен НОРМАЛЬ 176АТ)

ОСТ 1 38016-80 Футорки

ОСТ 1 38020-82 Втулки

ОСТ 1 39502-77 Стопорение болтов, винтов, шпилек, штифтов и гаек

ОСТ 1 39503-77 Длины болтов и винтов

ОСТ 1 39504-79 Головки шестигранные болтов и винтов

ОСТ 1 41471-79 Формообразование концов труб тяг управления из сплава Д16Т. Типовой технологический процесс

ОСТ 1 51730-79 Оснастка для формообразования концов труб тяг управления из сплава Д16Т

ОСТ 1 51731-79 Оснастка для формообразования концов труб тяг управления из сплава Д16Т

ОСТ 1.41001-79 Диаметры отверстий под нарезание резьбы метрической по нормали 754АТ

ОСТ 1.41002-79 Диаметры стержней под нарезание резьбы метрической по нормали 754АТ и ОСТ 1.00039-73

ОСТ 92-0762-72 Болты, винты из титановых сплавов

ОСТ 92-0912-69 Детали из высокопрочных углеродистых легированных и высоколегированных сталей. ОСТ 92-0912-69

ОСТ 92-1130-85 Детали стальные точные

ОСТ 92-1179-77 Детали и сборочные единицы из сталей марок 07Х16Н6 и 08Х17Н5М3

ОСТ 92-8653-75 по ОСТ 92-8674-75 Соединения трубопроводов по внутреннему конусу

ОСТ-1-33102-80 Взамен нормали 102АТУ Гайки ОСТ-1-33102-80

Отраслевая нормаль 214АТ В замен нормали 214МТ55 метрическая резьбой со свободной посадкой

Отраслевая нормаль 714М55 pdf Кольца плоские ,стопорные технические условия

Отраслевая нормаль авиационной техники 101АТУ Взамен 201СТУ51

Отраслевая нормаль авиационной техники. Нормаль 722АТ.

Р

РЕЗЬБА МЕТРИЧЕСКАЯ

Резьба метрическая усиленная тугой посадкой сталь в алюминиевые и магниевые сплавы. Нормаль 254АТ взамен нормальный 154МТ46

Резьба метрическая. Основные размеры и допуски. Отраслевая нормаль 257АТ взамен 57АТ50 взамен 153МТ54.

РЕЗЬБА ТРАПЕЦЕИДАЛЬНАЯ

РЕЗЬБА ТРУБНАЯ ЦИЛИНДРИЧЕСКАЯ

РЕЗЬБА УПОРНАЯ

Резьба усиленная метрическая тугой посадкой сталь сталь система вала настоящая норма распространяется на резьбу усиленную метрическую тугой посадкой для сопрягаемых материалов сталь в сталь. Нормаль 122МТ53 взамен нормали 122МТ51

Резьба усиленная метрическая тугой посадкой сталь сталь система вала настоящая норма распространяется на резьбу усиленную метрическую тугой посадкой для сопрягаемых материалов сталь в сталь. Нормаль 122МТ53 взамен нормали 122МТ51

Резьбовые соединения. Резьба метрическая с натягом по посадкам 2Н5Д и 2Н5С Отраслевой стандарт ОСТ 1 04065–92

Оформите заказ или получите консультацию