ОСТ 1 31019-77 Болты с двенадцатишлицевой головкой специальные

ОСТ 1 31019-77 болты с двенадцатишлицевой головкой специальные

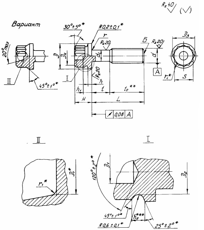
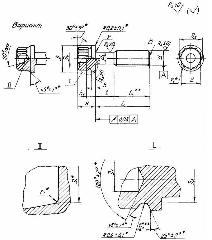
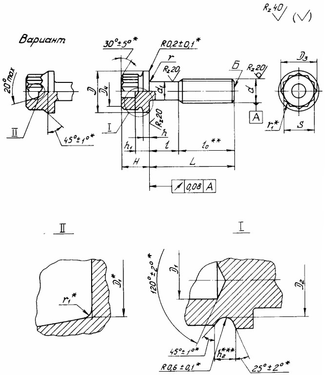
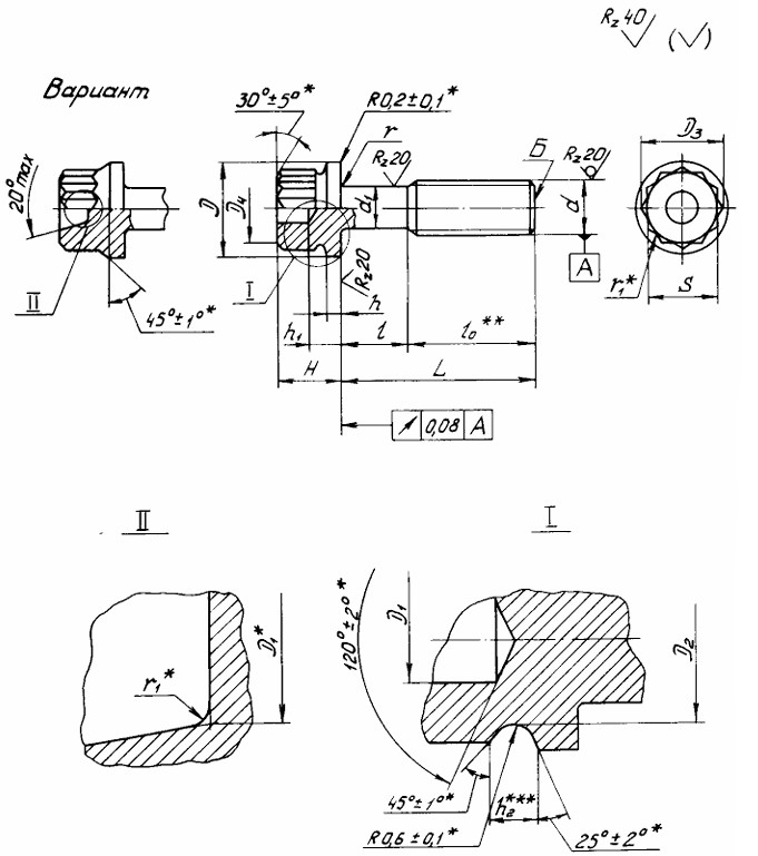
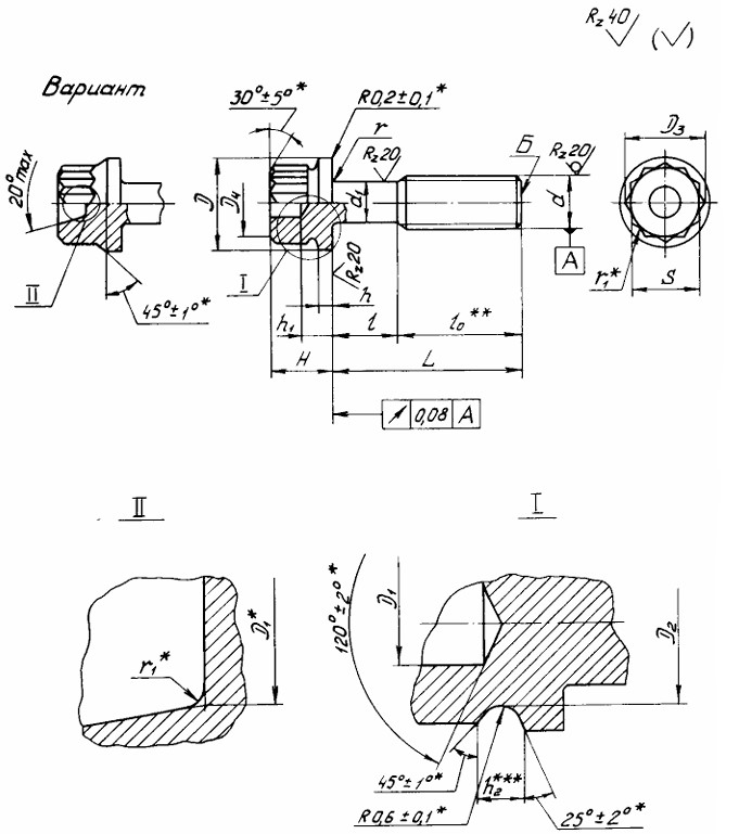
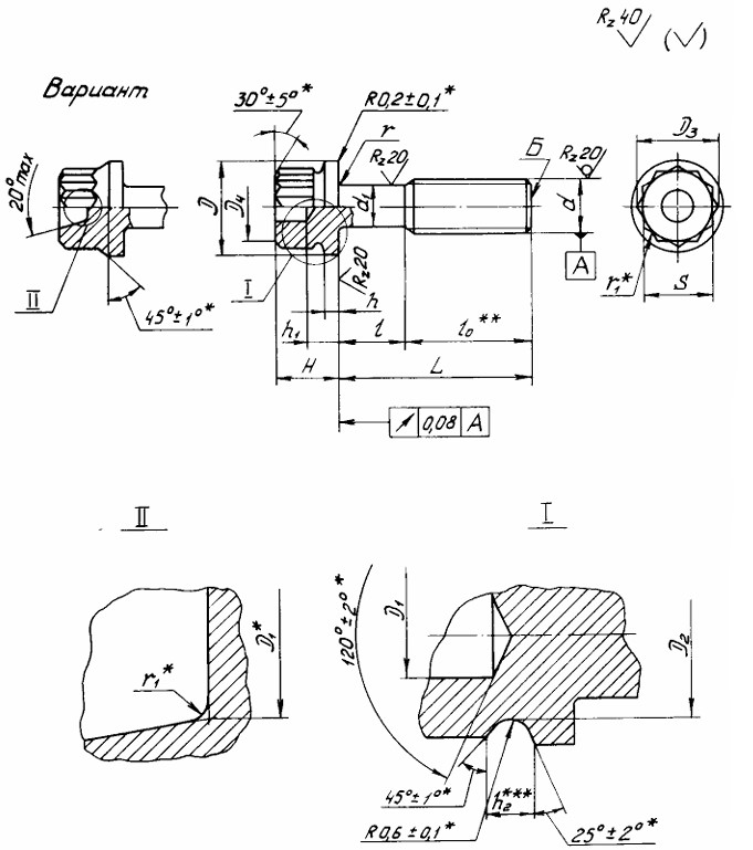
Настоящий стандарт распространяется на специальные болты с двенадцатишлицевой головкой, предназначенные для эксплуатации в газотрубинных двигателях из стали 10Х11Н23Т3МР-ВД с гайками по ОСТ 1 33400-77 при температуре до 600 гр. 

Конструкция и технические особенности

Конструкция болта состоит из двенадцатишлицевой головки и цилиндрического стержня. 

Материал изготовления: сталь 10Х11Н23Т3МР-ВД.

Материал покрытия: Хим.пас.

ОСТ 1 31019-77.pdf

Пример наименования и обозначения болта с двенадцатишлицевой головкой с резьбой М6 и длиной L=24мм из стали 10Х11Н23Т3МР-ВД:

Болт 6-24-ОСТ 1 31019-77

Болт
Наименование метиза
6
Резьба
24
Длина
ОСТ 1 31019-77
Нормативно-технический документ

ПРИМЕНЕНИЕ

Данные болты применяются во многих отраслях промышленности. Высокий спрос на изделие в машиностроении и строительстве, где такие болты используют для надежного крепления массивных деталей и металлических конструкций.

АНАЛОГИ

ОСТ/ГОСТНормальНаименованиеТипоразмерНа складе
ОСТ 1 31019-77БолтM6х18В наличии
ОСТ 1 31019-77БолтM6х20В наличии
ОСТ 1 31019-77БолтM6х22В наличии
ОСТ 1 31019-77БолтM6х24В наличии
ОСТ 1 31019-77БолтM6х26В наличии
ОСТ 1 31019-77БолтM6х28В наличии
ОСТ 1 31019-77БолтM6х30В наличии
ОСТ 1 31019-77БолтM6х32В наличии
ОСТ 1 31019-77БолтM6х34В наличии
ОСТ 1 31019-77БолтM6х36В наличии
ОСТ 1 31019-77БолтM6х38В наличии
ОСТ 1 31019-77БолтM6х40В наличии
ОСТ 1 31019-77БолтM6х42В наличии
ОСТ 1 31019-77БолтM6х44В наличии
ОСТ 1 31019-77БолтM6х46В наличии
ОСТ 1 31019-77БолтM6х48В наличии
ОСТ 1 31019-77БолтM6х50В наличии
ОСТ 1 31019-77БолтM8х22В наличии
ОСТ 1 31019-77БолтM8х24В наличии
ОСТ 1 31019-77БолтM8х26В наличии
ОСТ 1 31019-77БолтM8х28В наличии
ОСТ 1 31019-77БолтM8х30В наличии
ОСТ 1 31019-77БолтM8х32В наличии
ОСТ 1 31019-77БолтM8х34В наличии
ОСТ 1 31019-77БолтM8х36В наличии
ОСТ 1 31019-77БолтM8х38В наличии
ОСТ 1 31019-77БолтM8х40В наличии
ОСТ 1 31019-77БолтM8х42В наличии
ОСТ 1 31019-77БолтM8х44В наличии
ОСТ 1 31019-77БолтM8х46В наличии
ОСТ 1 31019-77БолтM8х48В наличии
ОСТ 1 31019-77БолтM8х50В наличии
ОСТ 1 31019-77БолтM8х52В наличии
ОСТ 1 31019-77БолтM8х54В наличии
ОСТ 1 31019-77БолтM8х56В наличии
ОСТ 1 31019-77БолтM8х58В наличии
ОСТ 1 31019-77БолтM8х60В наличии
ОСТ 1 31019-77БолтM8х62В наличии
ОСТ 1 31019-77БолтM8х64В наличии
ОСТ 1 31019-77БолтM8х66В наличии
ОСТ 1 31019-77БолтM8х68В наличии
ОСТ 1 31019-77БолтM8х70В наличии
ОСТ 1 31019-77БолтM8х72В наличии
ОСТ 1 31019-77БолтM8х74В наличии
ОСТ 1 31019-77БолтM8х76В наличии
ОСТ 1 31019-77БолтM8х78В наличии
ОСТ 1 31019-77БолтM8х80В наличии
ОСТ 1 31019-77БолтM10х24В наличии
ОСТ 1 31019-77БолтM10х26В наличии
ОСТ 1 31019-77БолтM10х28В наличии
ОСТ 1 31019-77БолтM10х30В наличии
ОСТ 1 31019-77БолтM10х32В наличии
ОСТ 1 31019-77БолтM10х34В наличии
ОСТ 1 31019-77БолтM10х36В наличии
ОСТ 1 31019-77БолтM10х38В наличии
ОСТ 1 31019-77БолтM10х40В наличии
ОСТ 1 31019-77БолтM10х42В наличии
ОСТ 1 31019-77БолтM10х44В наличии
ОСТ 1 31019-77БолтM10х46В наличии
ОСТ 1 31019-77БолтM10х48В наличии
ОСТ 1 31019-77БолтM10х50В наличии
ОСТ 1 31019-77БолтM10х52В наличии
ОСТ 1 31019-77БолтM10х54В наличии
ОСТ 1 31019-77БолтM10х56В наличии
ОСТ 1 31019-77БолтM10х58В наличии
ОСТ 1 31019-77БолтM10х60В наличии
ОСТ 1 31019-77БолтM10х62В наличии
ОСТ 1 31019-77БолтM10х64В наличии
ОСТ 1 31019-77БолтM10х66В наличии
ОСТ 1 31019-77БолтM10х68В наличии
ОСТ 1 31019-77БолтM10х70В наличии
ОСТ 1 31019-77БолтM10х72В наличии
ОСТ 1 31019-77БолтM10х74В наличии
ОСТ 1 31019-77БолтM10х76В наличии
ОСТ 1 31019-77БолтM10х78В наличии
ОСТ 1 31019-77БолтM10х80В наличии

Для изготовителей и поставщиков: Добавить мои товары в базу

Для покупателей: Подать заявку на покупку

НаименованиеТипоразмерМатериалКоличество, штВес, кг
Болт ОСТ 1 31019-77
О

ОСТ 1 30055-84 Накатка кольцевая стержней болт-заклепок из титанового сплава

ОСТ 1 31076-80 Маркировка крепежных изделий взамен НОРМАЛЬ 176АТ

ОСТ 1 31076-80: Маркировка крепежных изделий (взамен НОРМАЛЬ 176АТ)

ОСТ 1 38016-80 Футорки

ОСТ 1 38020-82 Втулки

ОСТ 1 39502-77 Стопорение болтов, винтов, шпилек, штифтов и гаек

ОСТ 1 39503-77 Длины болтов и винтов

ОСТ 1 39504-79 Головки шестигранные болтов и винтов

ОСТ 1 41471-79 Формообразование концов труб тяг управления из сплава Д16Т. Типовой технологический процесс

ОСТ 1 51730-79 Оснастка для формообразования концов труб тяг управления из сплава Д16Т

ОСТ 1 51731-79 Оснастка для формообразования концов труб тяг управления из сплава Д16Т

ОСТ 1.41001-79 Диаметры отверстий под нарезание резьбы метрической по нормали 754АТ

ОСТ 1.41002-79 Диаметры стержней под нарезание резьбы метрической по нормали 754АТ и ОСТ 1.00039-73

ОСТ 92-0762-72 Болты, винты из титановых сплавов

ОСТ 92-0912-69 Детали из высокопрочных углеродистых легированных и высоколегированных сталей. ОСТ 92-0912-69

ОСТ 92-1179-77 Детали и сборочные единицы из сталей марок 07Х16Н6 и 08Х17Н5М3

ОСТ 92-8653-75 по ОСТ 92-8674-75 Соединения трубопроводов по внутреннему конусу

ОСТ-1-33102-80 Взамен нормали 102АТУ Гайки ОСТ-1-33102-80

Отраслевая нормаль 214АТ В замен нормали 214МТ55 метрическая резьбой со свободной посадкой

Отраслевая нормаль 714М55 pdf Кольца плоские ,стопорные технические условия

Отраслевая нормаль авиационной техники 101АТУ Взамен 201СТУ51

Отраслевая нормаль авиационной техники. Нормаль 722АТ.

Р

РЕЗЬБА МЕТРИЧЕСКАЯ

Резьба метрическая усиленная тугой посадкой сталь в алюминиевые и магниевые сплавы. Нормаль 254АТ взамен нормальный 154МТ46

Резьба метрическая. Основные размеры и допуски. Отраслевая нормаль 257АТ взамен 57АТ50 взамен 153МТ54.

РЕЗЬБА ТРАПЕЦЕИДАЛЬНАЯ

РЕЗЬБА ТРУБНАЯ ЦИЛИНДРИЧЕСКАЯ

РЕЗЬБА УПОРНАЯ

Резьба усиленная метрическая тугой посадкой сталь сталь система вала настоящая норма распространяется на резьбу усиленную метрическую тугой посадкой для сопрягаемых материалов сталь в сталь. Нормаль 122МТ53 взамен нормали 122МТ51

Резьба усиленная метрическая тугой посадкой сталь сталь система вала настоящая норма распространяется на резьбу усиленную метрическую тугой посадкой для сопрягаемых материалов сталь в сталь. Нормаль 122МТ53 взамен нормали 122МТ51

Резьбовые соединения. Резьба метрическая с натягом по посадкам 2Н5Д и 2Н5С Отраслевой стандарт ОСТ 1 04065–92

Оформите заказ или получите консультацию