ОСТ 92-8662-75 Штуцера приварные

ОСТ 92-8662-75 штуцера приварные

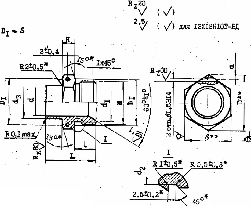
Настоящий стандарт распространяется на штуцера приварные для соединений трубопроводов по внутреннему конусу (торовых) и устанавливает их конструкцию, размеры и технические требования. Взамен НО 3387-60

Конструкция и технические особенности 

Конструкция штуцера состоит из металлического патрубка с резьбой.

Материал изготовления: сталь 20 нагарат., сталь 12Х18Н10Т-ВД, алюминиевый сплав АМг3(Dу<=18мм), АМг6(Dу>=20мм).

Материал покрытия: в зависимости от материала изготовления.

ОСТ 92-8662-75.pdf

Пример условного обозначения штуцера приварного для трубопровода с Dy=18мм из алюминиевого сплава АМг3:

Штуцер приварной 18-А4-ОСТ 92-8662-75

то же, из алюминиевого сплава АМг6:

Штуцер приварной 18-А1-ОСТ 92-8662-75

то же, из алюминиевого сплава АМг3М:

Штуцер приварной 18-А5-ОСТ 92-8662-75

то же, из алюминиевого сплава АМг6М:

Штуцер приварной 18-БО-ОСТ 92-8662-75

то же, из стали марки 20:

Штуцер приварной 18-У3-ОСТ 92-8662-75

то же, из стали марки 12Х18НI0Т-ВД:

Штуцер приварной 18-Д7-ОСТ 92-8662-75

то же, из стали марки 12Х18НI0Т-ВД для низких температур:

Штуцер приварной 18-Д7t-ОСТ 92-8662-75

Штуцер приварной
Наименование метиза
18
Диаметр
Д17t
Материл изготовления
ОСТ 92-8662-75
Нормативно-технический документ

ПРИМЕНЕНИЕ

     Штуцеры приварные применяются во многих отраслях промышленности, строительства и машиностроении. Они предназначены для соединения трубопроводов.

АНАЛОГИ

Взамен НО 3387-60

ОСТ/ГОСТНормальНаименованиеТипоразмерНа складе
ОСТ 92-8662-75Штуцер4В наличии
ОСТ 92-8662-75Штуцер6В наличии
ОСТ 92-8662-75Штуцер8В наличии
ОСТ 92-8662-75Штуцер10В наличии
ОСТ 92-8662-75Штуцер12В наличии
ОСТ 92-8662-75Штуцер14В наличии
ОСТ 92-8662-75Штуцер16В наличии
ОСТ 92-8662-75Штуцер18В наличии
ОСТ 92-8662-75Штуцер20В наличии
ОСТ 92-8662-75Штуцер22В наличии
ОСТ 92-8662-75Штуцер23В наличии
ОСТ 92-8662-75Штуцер24В наличии
ОСТ 92-8662-75Штуцер25В наличии
ОСТ 92-8662-75Штуцер26В наличии
ОСТ 92-8662-75Штуцер28В наличии
ОСТ 92-8662-75Штуцер30В наличии
ОСТ 92-8662-75Штуцер32В наличии
ОСТ 92-8662-75Штуцер35В наличии
ОСТ 92-8662-75Штуцер40В наличии
ОСТ 92-8662-75Штуцер45В наличии
ОСТ 92-8662-75Штуцер48В наличии
ОСТ 92-8662-75Штуцер50В наличии

Для изготовителей и поставщиков: Добавить мои товары в базу

Для покупателей: Подать заявку на покупку

НаименованиеТипоразмерМатериалКоличество, штВес, кг
Штуцер ОСТ 92-8662-75
О

ОСТ 1 30055-84 Накатка кольцевая стержней болт-заклепок из титанового сплава

ОСТ 1 31076-80 Маркировка крепежных изделий взамен НОРМАЛЬ 176АТ

ОСТ 1 31076-80: Маркировка крепежных изделий (взамен НОРМАЛЬ 176АТ)

ОСТ 1 38016-80 Футорки

ОСТ 1 38020-82 Втулки

ОСТ 1 39502-77 Стопорение болтов, винтов, шпилек, штифтов и гаек

ОСТ 1 39503-77 Длины болтов и винтов

ОСТ 1 39504-79 Головки шестигранные болтов и винтов

ОСТ 1 41471-79 Формообразование концов труб тяг управления из сплава Д16Т. Типовой технологический процесс

ОСТ 1 51730-79 Оснастка для формообразования концов труб тяг управления из сплава Д16Т

ОСТ 1 51731-79 Оснастка для формообразования концов труб тяг управления из сплава Д16Т

ОСТ 1.41001-79 Диаметры отверстий под нарезание резьбы метрической по нормали 754АТ

ОСТ 1.41002-79 Диаметры стержней под нарезание резьбы метрической по нормали 754АТ и ОСТ 1.00039-73

ОСТ 92-0762-72 Болты, винты из титановых сплавов

ОСТ 92-0912-69 Детали из высокопрочных углеродистых легированных и высоколегированных сталей. ОСТ 92-0912-69

ОСТ 92-1130-85 Детали стальные точные

ОСТ 92-1179-77 Детали и сборочные единицы из сталей марок 07Х16Н6 и 08Х17Н5М3

ОСТ 92-8653-75 по ОСТ 92-8674-75 Соединения трубопроводов по внутреннему конусу

ОСТ-1-33102-80 Взамен нормали 102АТУ Гайки ОСТ-1-33102-80

Отраслевая нормаль 214АТ В замен нормали 214МТ55 метрическая резьбой со свободной посадкой

Отраслевая нормаль 714М55 pdf Кольца плоские ,стопорные технические условия

Отраслевая нормаль авиационной техники 101АТУ Взамен 201СТУ51

Отраслевая нормаль авиационной техники. Нормаль 722АТ.

Р

РЕЗЬБА МЕТРИЧЕСКАЯ

Резьба метрическая усиленная тугой посадкой сталь в алюминиевые и магниевые сплавы. Нормаль 254АТ взамен нормальный 154МТ46

Резьба метрическая. Основные размеры и допуски. Отраслевая нормаль 257АТ взамен 57АТ50 взамен 153МТ54.

РЕЗЬБА ТРАПЕЦЕИДАЛЬНАЯ

РЕЗЬБА ТРУБНАЯ ЦИЛИНДРИЧЕСКАЯ

РЕЗЬБА УПОРНАЯ

Резьба усиленная метрическая тугой посадкой сталь сталь система вала настоящая норма распространяется на резьбу усиленную метрическую тугой посадкой для сопрягаемых материалов сталь в сталь. Нормаль 122МТ53 взамен нормали 122МТ51

Резьба усиленная метрическая тугой посадкой сталь сталь система вала настоящая норма распространяется на резьбу усиленную метрическую тугой посадкой для сопрягаемых материалов сталь в сталь. Нормаль 122МТ53 взамен нормали 122МТ51

Резьбовые соединения. Резьба метрическая с натягом по посадкам 2Н5Д и 2Н5С Отраслевой стандарт ОСТ 1 04065–92

Оформите заказ или получите консультацию